Запчасти Komatsu PC1000SP-1 АВТОМ. ЗАМЕДЛЕНИЕ ОБОРОТОВ РАСПРЕДЕЛИТ. КЛАПАН ТРУБЫ (АВТОМ. ЗАМЕДЛЕНИЕ ОБОРОТОВ)(№78-) УПРАВЛ-Е РАБОЧИМ ОБОРУДОВАНИЕМ

Схема запчастей Komatsu PC1000SP-1 - АВТОМ. ЗАМЕДЛЕНИЕ ОБОРОТОВ РАСПРЕДЕЛИТ. КЛАПАН ТРУБЫ (АВТОМ. ЗАМЕДЛЕНИЕ ОБОРОТОВ)(№78-) УПРАВЛ-Е РАБОЧИМ ОБОРУДОВАНИЕМ
FIT
1:1
100%

Артикул

Название

Примечание

Количество

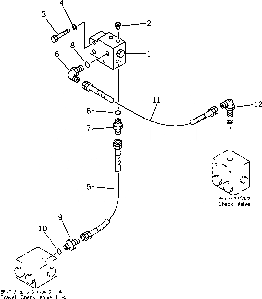
G-1

21N-43-X1000

AUTO DECELERATION G.

1

21T-60-72600

SHUTTLE VALVE ASS'Y

2

07043-70211

PLUG

3

01010-50860

BOLT

4

01643-30823

WASHER

5

07102-20204

HOSE

6

07235-10210

ELBOW

7

07230-20210

UNION

7

07230-10210

UNION

8

07002-01423

O-RING

9

175-79-82720

NIPPLE

10

07002-02034

O-RING

11

07102-20205

HOSE

12

11T-09-11290

TEE

Выбрано товаров: 14