Качественные детали и логистика
Оригинальные и аналоговые запчасти с доставкой по России, Казахстану и Беларуси
©2022 PartSell ООО "Система" ИНН 2463123282 ОГРН 1212400004838
Центральный офис: г. Красноярск, Академика Киренского, д.87, пом.4
Телефон: 8 (800) 777-65-74 Email: zakaz@partsell.ru
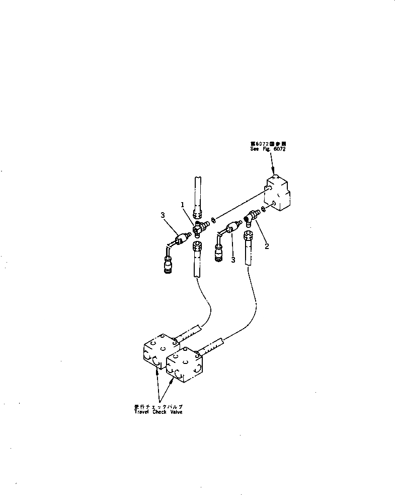
СИГНАЛ ХОДА ПЕРЕКЛЮЧАТЕЛЬ (АВТОМ. ЗАМЕДЛЕНИЕ ОБОРОТОВ)(№8-)
№
Артикул
Название
Примечание
Количество
1
21N-62-17960
TEE
2
07235-50210
ELBOW
3
205-06-71841
SWITCH
Выбрано товаров: 0