Запчасти Komatsu PC1000SP-1 МЕХАНИЗМ ПОВОРОТА¤ ЗАДН. (/)(№78-) ПОВОРОТН. СИСТЕМА

Схема запчастей Komatsu PC1000SP-1 - МЕХАНИЗМ ПОВОРОТА¤ ЗАДН. (/)(№78-) ПОВОРОТН. СИСТЕМА
FIT
1:1
100%

Артикул

Название

Примечание

Количество

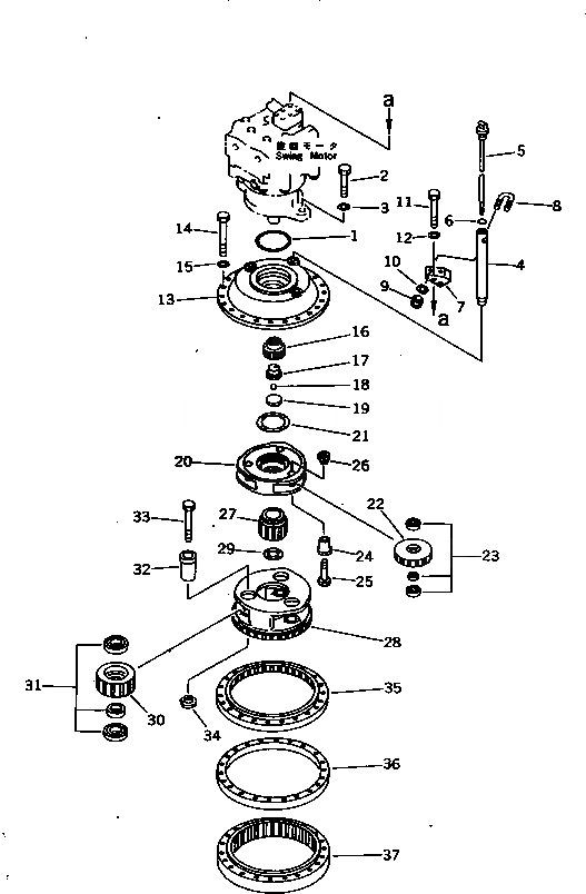
1

07000-05150

O-RING

2

01010-52470

BOLT

3

01643-32460

WASHER

4

21N-26-11130

TUBE

5

21N-26-12230

GAUGE

6

07000-03022

O-RING

7

21N-26-11172

BRACKET

8

07283-23442

CLIP

9

01599-01011

NUT

10

01643-31032

WASHER

11

01011-51230

BOLT

12

01643-31232

WASHER

|$12

21N-26-00014

SWING MACHINERY A.

|$13

21N-26-00013

SWING MACHINERY A.

|$14

21N-26-00012

SWING MACHINERY A.

13

21N-26-12110

COVER

14

207-27-52341

BOLT

14

207-27-52340

BOLT

15

01643-31845

WASHER

16

21N-26-12130

GEAR

17

21N-26-12210

BLOCK

18

04260-01905

BALL

19

21N-26-12220

PLATE

20

21N-26-12180

CARRIER

21

20Y-27-11250

SPACER

21

205-27-71570

SPACER

22

21N-26-12140

GEAR

23

207-27-52320

BEARING,ROLLER

24

207-27-52250

PIN

25

01010-51060

BOLT

26

207-27-52260

HOLDER

27

207-27-52131

GEAR

28

207-27-52180

CARRIER

29

207-27-52270

SPACER

30

207-27-52140

GEAR

31

207-27-52220

BEARING,ROLLER, WITH SPACER

32

207-27-52240

PIN

33

01011-51805

BOLT

34

207-27-51241

HOLDER

35

21N-26-12151

GEAR

35

21N-26-12150

GEAR

36

207-27-52290

SPACER

37

207-27-52150

GEAR

Выбрано товаров: 43