Запчасти Komatsu PC100L-2 ОСНОВНАЯ РАМА ОСНОВНАЯ РАМА И КАБИНА

Схема запчастей Komatsu PC100L-2 - ОСНОВНАЯ РАМА ОСНОВНАЯ РАМА И КАБИНА
FIT
1:1
100%

Артикул

Название

Примечание

Количество

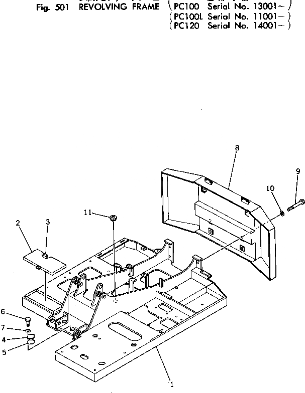
1

203-46-31113

FRAME

2

203-46-11191

COVER

3

144-851-1960

HINGE (WELDED)

4

203-46-31131

COVER

5

203-46-31181

GASKET

6

01010-31230

BOLT

7

01643-31232

WASHER

8

204-46-21110

WEIGHT,COUNTER

9

01011-32455

BOLT

10

203-46-31231

WASHER

11

203-46-31340

GROMMET

Выбрано товаров: 11