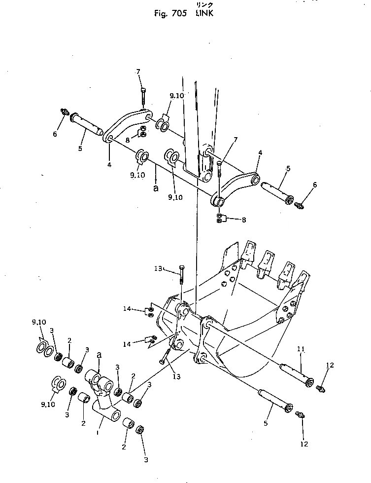
Запчасти Komatsu PC100L-2 СОЕДИНИТЕЛЬН. ЗВЕНО РАБОЧЕЕ ОБОРУДОВАНИЕ

Схема запчастей Komatsu PC100L-2 - СОЕДИНИТЕЛЬН. ЗВЕНО РАБОЧЕЕ ОБОРУДОВАНИЕ
FIT
1:1
100%

Артикул

Название

Примечание

Количество

|$0

203-70-00032

LINK ASS'Y

1

LINK

2

203-70-33150

BUSHING

3

203-70-33210

SEAL,DUST

4

203-70-21310

LINK

5

202-70-11550

PIN

6

07020-00000

FITTING,GREASE

7

01019-01620

BOLT

8

01580-01613

NUT

9

203-70-24150

SPACER, 1.0MM

10

203-70-24160

SPACER, 2.0MM

11

202-70-11550

PIN

12

07020-00000

FITTING,GREASE

13

01011-31640

BOLT

14

01580-01613

NUT

15

203-70-34260

SPACER, 0.5MM

Выбрано товаров: 16