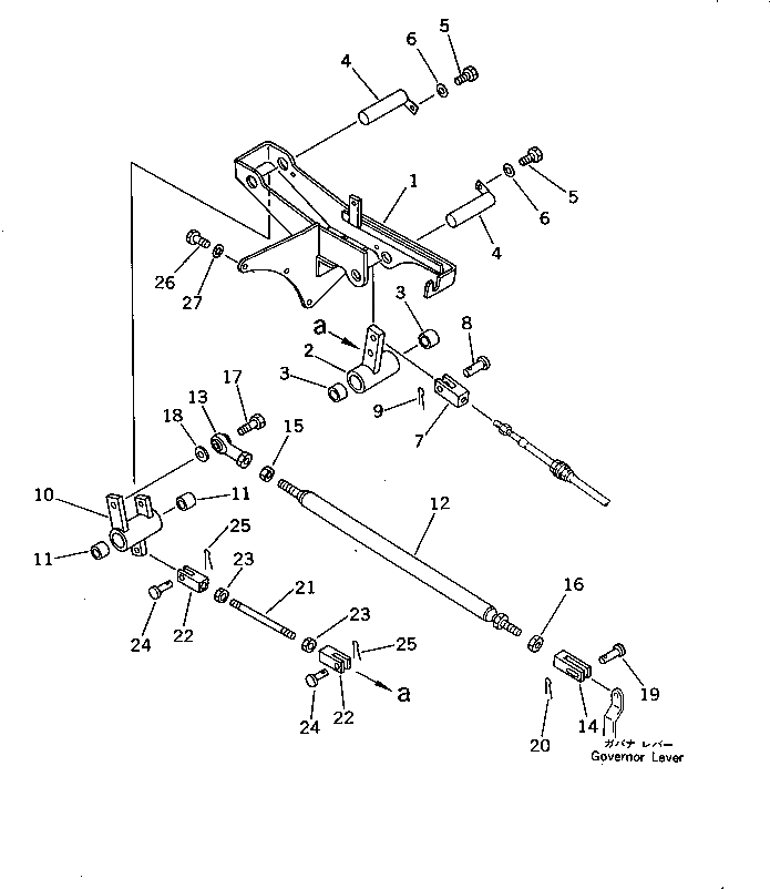
Запчасти Komatsu PC100L-3 МЕХАНИЗМ УПРАВЛ-Я ПОДАЧЕЙ ТОПЛИВА (БЕЗ АВТОМ. ЗАМЕДЛЕНИЕ ОБОРОТОВ)(№-) КОМПОНЕНТЫ ДВИГАТЕЛЯ И ЭЛЕКТРИКА

Схема запчастей Komatsu PC100L-3 - МЕХАНИЗМ УПРАВЛ-Я ПОДАЧЕЙ ТОПЛИВА (БЕЗ АВТОМ. ЗАМЕДЛЕНИЕ ОБОРОТОВ)(№-) КОМПОНЕНТЫ ДВИГАТЕЛЯ И ЭЛЕКТРИКА
FIT
1:1
100%

Артикул

Название

Примечание

Количество

1

203-43-44242

BRACKET

|1

203-43-44241

BRACKET

2

203-43-44250

LEVER

3

09350-02220

BUSHING

4

203-43-42910

SHAFT

5

01010-50816

BOLT

6

01643-30823

WASHER

7

203-43-44280

YOKE

8

04205-11028

PIN

9

04050-13018

PIN,COTTER

10

203-43-44260

LEVER

11

09350-02220

BUSHING

12

203-43-44390

ROD

13

04250-61056

END,ROD

14

201-43-21370

YOKE

15

01508-21006

NUT,L.H. THREAD

16

01582-11008

NUT

17

01010-51030

BOLT

18

04254-01032

SPACER

19

04205-10622

PIN

20

04050-11612

PIN,COTTER

21

04245-41020

ROD

22

04211-21055

YOKE

23

01582-11008

NUT

24

04205-11028

PIN

25

04050-13020

PIN,COTTER

26

01010-51035

BOLT

27

01643-31032

WASHER

Выбрано товаров: 28