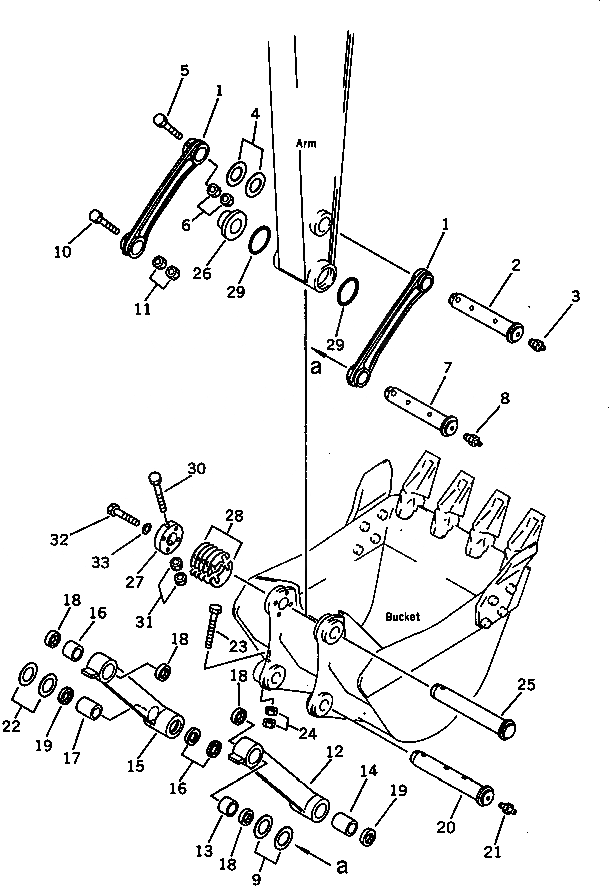
Запчасти Komatsu PC100L-3 СОЕДИНИТЕЛЬН. ЗВЕНО(№-) РАБОЧЕЕ ОБОРУДОВАНИЕ

Схема запчастей Komatsu PC100L-3 - СОЕДИНИТЕЛЬН. ЗВЕНО(№-) РАБОЧЕЕ ОБОРУДОВАНИЕ
FIT
1:1
100%

Артикул

Название

Примечание

Количество

1

203-70-44490

LINK,L.H.

|1

203-70-44410

LINK,L.H.

|1

203-70-44510

LINK,R.H.

|1

203-70-44420

LINK,R.H.

2

203-70-44350

PIN

3

07020-00000

FITTING,GREASE

4

203-70-24150

SPACER¤ 1.0MM

|4

203-70-24160

SPACER¤ 2.0MM

5

01019-11620

BOLT

6

01580-11613

NUT

7

203-70-44360

PIN

8

07020-00000

FITTING,GREASE

9

202-70-48460

SPACER¤ 1.0MM

10

01019-11620

BOLT

11

01580-11613

NUT

|12

203-70-00140

LINK ASS'Y,L.H.

12

LINK,L.H.

13

203-70-44330

BUSHING

14

203-70-33150

BUSHING

|15

203-70-00180

LINK ASS'Y,R.H.

15

LINK,R.H.

16

203-70-44330

BUSHING

17

203-70-33150

BUSHING

18

203-70-44230

SEAL,DUST

19

203-70-33210

SEAL,DUST

20

203-70-44370

PIN

21

07020-00000

FITTING,GREASE

22

203-70-24150

SPACER¤ 1.0MM

|22

203-70-24160

SPACER¤ 2.0MM

23

01011-51640

BOLT

24

01580-11613

NUT

25

203-70-44380

PIN

26

203-70-44451

SPACER

27

203-70-44440

PLATE

28

203-70-44460

SHIM¤ 0.5MM

29

203-70-44470

O-RING

30

01011-51670

BOLT

31

01580-11613

NUT

32

01010-51470

BOLT

33

01643-31445

WASHER

Выбрано товаров: 40