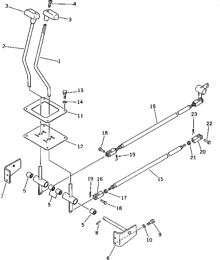
Запчасти Komatsu PC100L-3 КОНТРОЛЬ ХОДА (ДЛЯ WRIST УПРАВЛ-Е) (БЕЗ АВТОМ. ЗАМЕДЛЕНИЕ ОБОРОТОВ) ПОВОРОТН. И СИСТЕМА УПРАВЛЕНИЯ

Схема запчастей Komatsu PC100L-3 - КОНТРОЛЬ ХОДА (ДЛЯ WRIST УПРАВЛ-Е) (БЕЗ АВТОМ. ЗАМЕДЛЕНИЕ ОБОРОТОВ) ПОВОРОТН. И СИСТЕМА УПРАВЛЕНИЯ
FIT
1:1
100%

Артикул

Название

Примечание

Количество

1

203-43-43513

LEVER,L.H.

|1

203-43-43512

LEVER,L.H.

2

203-43-43523

LEVER,R.H.

|2

203-43-43522

LEVER,R.H.

3

203-43-41340

KNOB

4

01225-40625

SCREW

5

195-61-34130

BEARING

6

203-43-42721

SHAFT

7

203-43-42731

BRACKET

8

04050-13030

PIN,COTTER

9

01010-51030

BOLT

10

01643-31032

WASHER

11

203-43-43530

PLATE

12

203-43-43540

COVER

13

01010-50820

BOLT

14

01602-20825

WASHER,SPRING

15

203-43-41511

ROD

16

04220-21040

YOKE,L.H. THREAD

17

01508-21006

NUT,L.H. THREAD

18

04205-11028

PIN

19

04050-13015

PIN,COTTER

20

04210-21040

YOKE

21

01582-11008

NUT

22

04205-11028

PIN

23

04050-13015

PIN,COTTER

Выбрано товаров: 25