Запчасти Komatsu PC100L-3 MACHINERY ОБСТАНОВКА (/)(№-) ОСНОВНАЯ РАМА И КАБИНА

Схема запчастей Komatsu PC100L-3 - MACHINERY ОБСТАНОВКА (/)(№-) ОСНОВНАЯ РАМА И КАБИНА
FIT
1:1
100%

Артикул

Название

Примечание

Количество

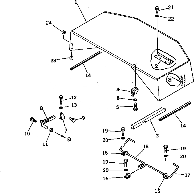
|1

203-54-00311

MACHINE CAB ASS'Y

|1

203-54-00310

MACHINE CAB ASS'Y

1

HOOD

2

20G-54-11670

HINGE

3

203-54-42860

SHEET

4

203-54-42350

BRACKET

5

01010-51020

BOLT

6

01643-31032

WASHER

7

203-54-42242

BRACKET

|7

203-54-42241

BRACKET

8

20R-54-21430

STAY

9

20R-54-21440

BOLT

10

20R-54-21450

BOLT

11

01580-11008

NUT

12

01010-51030

BOLT

13

01643-31032

WASHER

14

203-54-42830

TRIM

15

203-54-42270

PLATE

16

203-54-42280

PLATE

17

203-54-42570

BAR,TORSION¤ L.H.

18

203-54-42580

BAR,TORSION¤ R.H.

19

01010-51025

BOLT

20

01643-31032

WASHER

21

01010-51020

BOLT

22

144-854-1890

WASHER

23

201-54-21360

CUSHION

24

01580-10504

NUT

Выбрано товаров: 27