Запчасти Komatsu PC100L-3 КАБИНА (/) (ДЛЯ ЯПОН.)(№-99) ОСНОВНАЯ РАМА И КАБИНА

Схема запчастей Komatsu PC100L-3 - КАБИНА (/) (ДЛЯ ЯПОН.)(№-99) ОСНОВНАЯ РАМА И КАБИНА
FIT
1:1
100%

Артикул

Название

Примечание

Количество

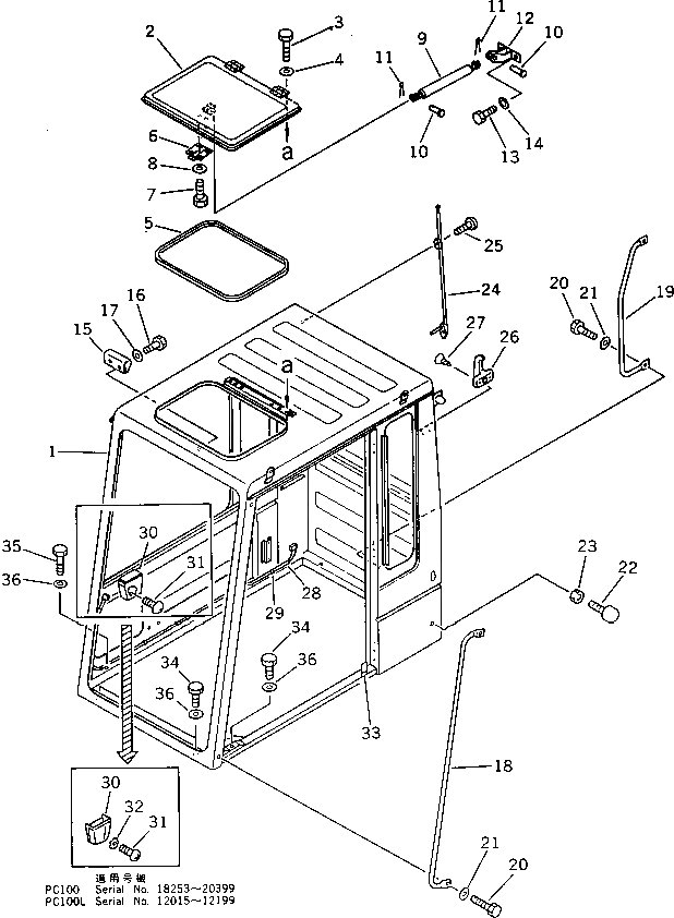
|1

203-54-00302

OPERATOR'S CAB ASS'Y

|1

203-54-00301

OPERATOR'S CAB ASS'Y

|1

203-54-00300

OPERATOR'S CAB ASS'Y

1

203-54-43440

CAB

2

203-54-43410

COVER

3

01010-50612

BOLT

4

01643-30623

WASHER

5

203-54-43460

TRIM,PAD

6

205-54-66190

LOCK ASS'Y

7

01010-50616

BOLT

8

01643-30623

WASHER

9

205-54-63650

GAS SPRING ASS'Y

10

04205-10825

PIN

11

04050-12012

PIN,COTTER

12

203-54-43640

BRACKET

13

01010-50816

BOLT

14

01643-30823

WASHER

15

205-54-43940

BRACKET

16

01010-50616

BOLT

17

01643-30623

WASHER

18

203-54-43230

GRIP

19

203-54-43431

GRIP

|19

203-54-43430

GRIP

20

01010-51025

BOLT

21

01643-31032

WASHER

22

09453-00002

STOPPER

23

01580-11210

NUT

24

205-06-62350

ANTENNA ASS'Y

25

01220-40420

SCREW

26

205-54-51250

HANGER

27

01381-10420

SCREW

28

203-06-41710

WIRE

29

205-54-72710

CLIP

30

201-54-23221

ASHTRAY

|30

203-54-43840

ASHTRAY

31

01370-00410

SCREW

|31

01370-00510

SCREW

32

01611-04045

WASHER

33

203-54-44980

RUBBER

34

01010-51245

BOLT

35

01010-51265

BOLT

36

01643-31232

WASHER

Выбрано товаров: 42