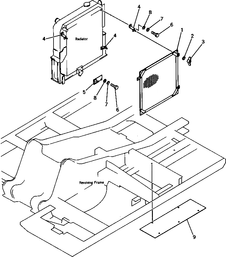
Запчасти Komatsu PC100L-3 РЕШЕТКА РАДИАТОРА ОПЦИОННЫЕ КОМПОНЕНТЫ

Схема запчастей Komatsu PC100L-3 - РЕШЕТКА РАДИАТОРА ОПЦИОННЫЕ КОМПОНЕНТЫ
FIT
1:1
100%

Артикул

Название

Примечание

Количество

1

203-03-41540

NET

2

01602-00825

WASHER,SPRING

3

01540-00840

NUT

4

203-03-41550

BRACKET

5

203-03-41560

BRACKET

6

01010-50820

BOLT

7

01602-00825

WASHER,SPRING

8

01643-30823

WASHER

9

203-54-42212

COVER

Выбрано товаров: 9