Запчасти Komatsu PC100L-3 МЕХ-М УПРАВЛ-Я (/) (ДОПОЛН. ГИДРАВЛ КОНТУР) (ДЛЯ УДЛИНН. РЫЧАГ УПРАВЛ-Е)(№-99) ОПЦИОННЫЕ КОМПОНЕНТЫ

Схема запчастей Komatsu PC100L-3 - МЕХ-М УПРАВЛ-Я (/) (ДОПОЛН. ГИДРАВЛ КОНТУР)       (ДЛЯ УДЛИНН. РЫЧАГ УПРАВЛ-Е)(№-99) ОПЦИОННЫЕ КОМПОНЕНТЫ
FIT
1:1
100%

Артикул

Название

Примечание

Количество

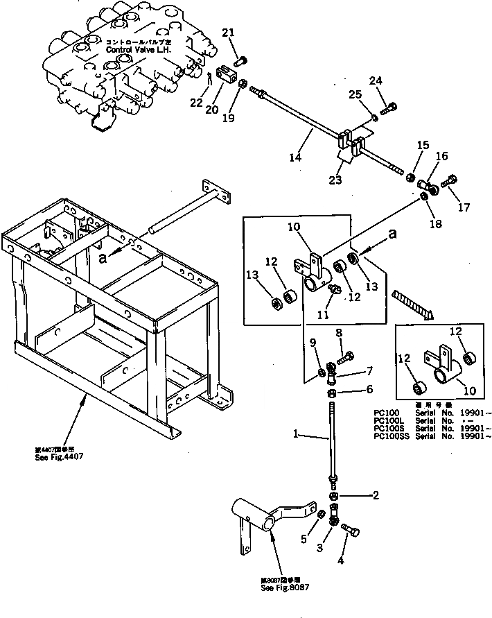
1

04248-31028

ROD

2

01582-11008

NUT

3

04250-41056

END,ROD

4

01010-51030

BOLT

5

01643-31032

WASHER

5

04254-01032

SPACER

6

01508-21006

NUT,L.H. THREAD

7

04250-61056

END,ROD, L.H. THREAD

8

01010-51030

BOLT

9

01643-31032

WASHER

9

04254-01032

SPACER

10

203-43-41243

LEVER

10

203-43-41242

LEVER

11

07020-00900

FITTING,GREASE

12

195-61-34130

BEARING

12

06120-02016

BEARING,NEEDLE

13

06122-02004

SEAL,BEARING

14

04248-31036

ROD

15

01508-21006

NUT,L.H. THREAD

16

04250-61056

END,ROD, L.H. THREAD

17

01010-51030

BOLT

18

01643-31032

WASHER

18

04254-01032

SPACER

19

01582-11008

NUT

20

20T-43-22210

YOKE

21

04205-10822

PIN

22

04050-12012

PIN,COTTER

23

203-43-42491

PLATE

24

01010-50830

BOLT

25

01643-30823

WASHER

Выбрано товаров: 30