Запчасти Komatsu PC100L-3 ПРЕДУПРЕЖД. ПЕРЕГРУЗКИ (СПЕЦ-Я TBG) СПЕЦ. APPLICATION ЧАСТИ¤ МАРКИРОВКА¤ ИНСТРУМЕНТ И РЕМКОМПЛЕКТЫ

Схема запчастей Komatsu PC100L-3 - ПРЕДУПРЕЖД. ПЕРЕГРУЗКИ (СПЕЦ-Я TBG) СПЕЦ. APPLICATION ЧАСТИ¤ МАРКИРОВКА¤ ИНСТРУМЕНТ И РЕМКОМПЛЕКТЫ
FIT
1:1
100%

Артикул

Название

Примечание

Количество

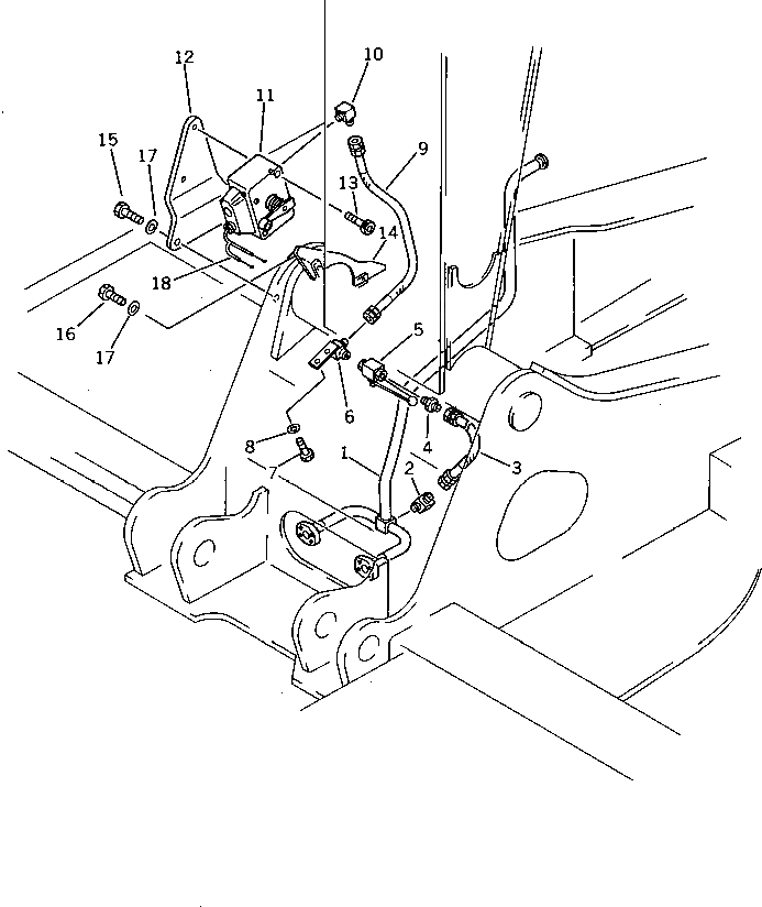
1

203-62-44680

TUBE

2

175-79-82550

ELBOW

3

07096-00204

HOSE

4

07238-00210

CONNECTOR

5

205-62-69250

VALVE

6

203-62-44690

ELBOW

7

01010-51020

BOLT

8

01643-31032

WASHER

9

07096-00205

HOSE

10

175-79-82550

ELBOW

11

205-62-69240

SWITCH,PRESSURE

12

203-62-44720

BRACKET

13

01252-40616

BOLT

14

203-62-44710

PLATE

15

01010-51030

BOLT

16

01010-51025

BOLT

17

01643-31032

WASHER

18

203-798-2550

WIRE ASS'Y

Выбрано товаров: 18