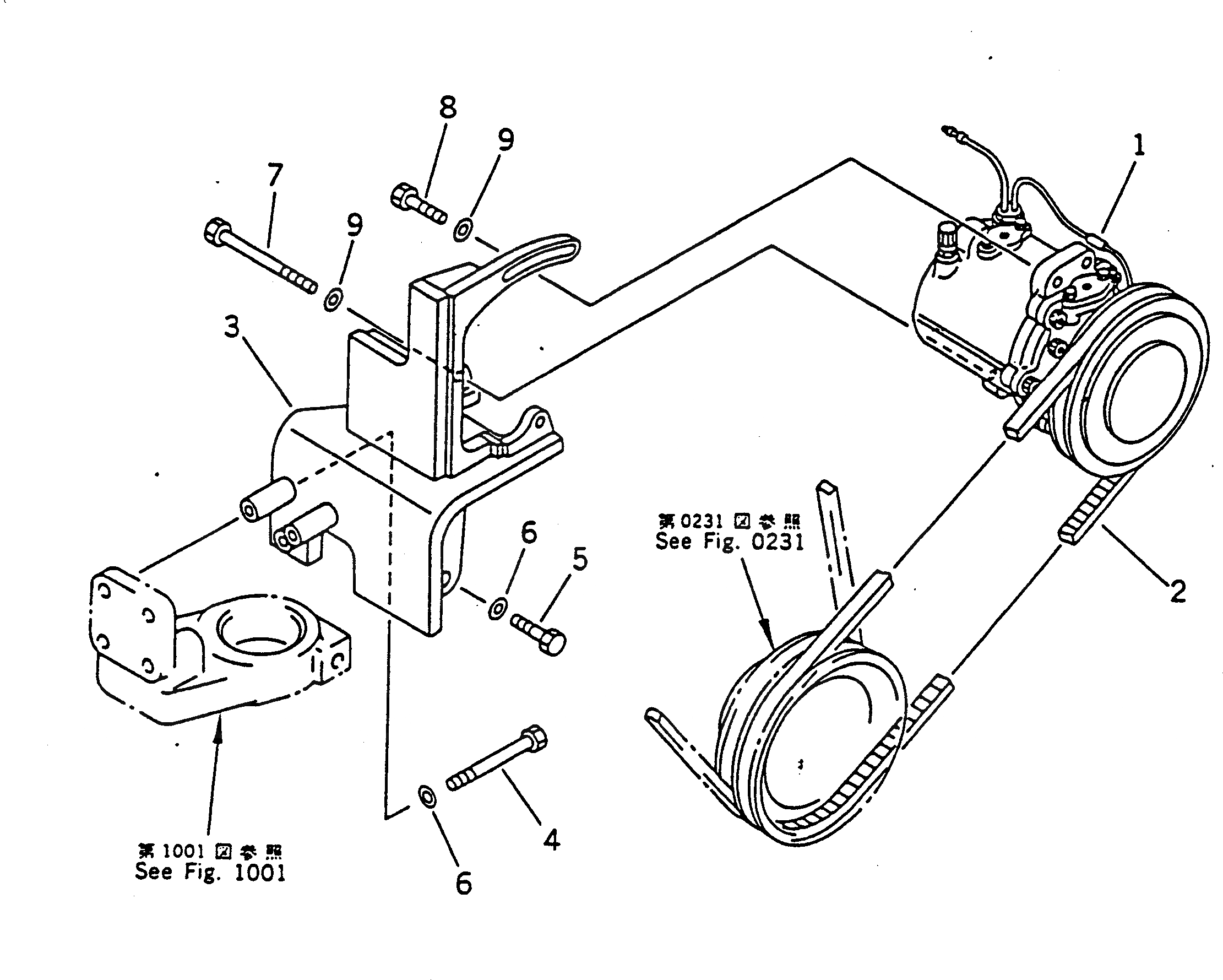
Запчасти Komatsu PC100L-5 КОМПРЕССОР И КРЕПЛЕНИЕ ЧАСТИ КОРПУСА

Схема запчастей Komatsu PC100L-5 - КОМПРЕССОР И КРЕПЛЕНИЕ ЧАСТИ КОРПУСА
FIT
1:1
100%

Артикул

Название

Примечание

Количество

1

20Y-978-1120

COMPRESSOR

|1

203-978-5540

COMPRESSOR

|1A

TW7041-0180

SWITCH

2

04120-21745

V-BELT

|2

203-978-5520

V-BELT

3

203-978-5330

BRACKET

4

203-978-5350

BOLT

5

01010-51025

BOLT

6

01643-31032

WASHER

7

01011-51020

BOLT

|7

01011-51015

BOLT

8

01010-51030

BOLT

9

01643-31032

WASHER

Выбрано товаров: 13