Запчасти Komatsu PC100L-5 ГИДР. НАСОС. (БЛОК СЕРВОКЛАПАНА¤ ПЕРЕДН.) (7/) УПРАВЛ-Е РАБОЧИМ ОБОРУДОВАНИЕМ

Схема запчастей Komatsu PC100L-5 - ГИДР. НАСОС. (БЛОК СЕРВОКЛАПАНА¤ ПЕРЕДН.) (7/) УПРАВЛ-Е РАБОЧИМ ОБОРУДОВАНИЕМ
FIT
1:1
100%

Артикул

Название

Примечание

Количество

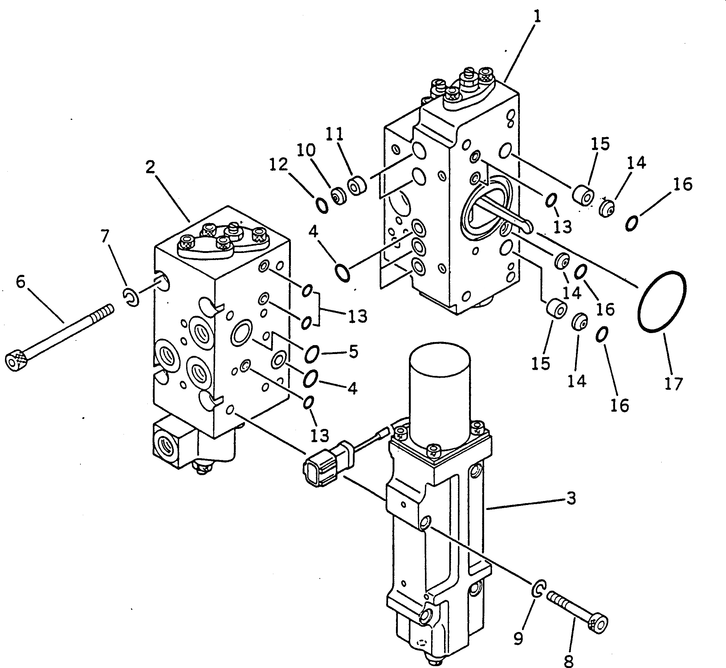
|1

708-23-04014

PUMP ASS'Y,HYDRAULIC (HPV55+55)

|1

708-23-04013

PUMP ASS'Y,HYDRAULIC (HPV55+55)

|1

708-23-04012

PUMP ASS'Y,HYDRAULIC (HPV55+55)

|1

708-23-04512

VALVE ASS'Y,FRONT

1

708-23-15502

VALVE SUB ASS'Y,FRONT

2

708-23-04711

VALVE ASS'Y,C.O. AND N.C.

3

708-23-04911

VALVE ASS'Y,T.V.C.

4

07000-02011

O-RING

5

07000-02018

O-RING

6

708-25-19160

BOLT

7

01602-20825

WASHER,SPRING

8

708-25-19130

BOLT

9

01602-20825

WASHER,SPRING

10

720-68-11920

FILTER

11

708-25-19191

ORIFICE

12

07000-12010

O-RING

13

07000-11009

O-RING

14

720-68-11920

FILTER

15

708-23-19130

ORIFICE

16

07000-12010

O-RING

17

07000-03048

O-RING

Выбрано товаров: 21