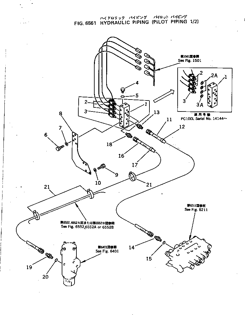
Запчасти Komatsu PC100L-5 ГИДРОЛИНИЯ (ГЛАВН. ТРУБЫ /) УПРАВЛ-Е РАБОЧИМ ОБОРУДОВАНИЕМ

Схема запчастей Komatsu PC100L-5 - ГИДРОЛИНИЯ (ГЛАВН. ТРУБЫ /) УПРАВЛ-Е РАБОЧИМ ОБОРУДОВАНИЕМ
FIT
1:1
100%

Артикул

Название

Примечание

Количество

1

203-60-56150

BLOCK

|1

203-60-56121

BLOCK

2

203-60-56560

SOLENOID VALVE

|2

203-60-56180

SOLENOID VALVE,SOLENOID

2A

203-60-56440

SPACER

3

203-60-56560

SOLENOID VALVE,SOLENOID

|3

203-60-56180

SOLENOID VALVE,SOLENOID

3A

203-60-56440

SPACER

4

07040-11007

PLUG

5

07002-01023

O-RING

6

01010-51030

BOLT

7

01643-31032

WASHER

8

203-60-56171

PLATE

9

01010-51230

BOLT

10

01643-31232

WASHER

11

07102-20207

HOSE

12

203-62-58140

MARK¤ A3

13

07238-10210

CONNECTOR

14

07230-20210

UNION

15

07002-01423

O-RING

16

07102-20215

HOSE

17

203-62-58530

MARK¤ A2

18

07238-10210

CONNECTOR

19

07230-20210

UNION

20

07002-01423

O-RING

21

08034-00823

BAND

Выбрано товаров: 26