Запчасти Komatsu PC100L-5 ОСНОВНАЯ РАМА (С ПОЛН. НИЖН. КРЫШКА) СИСТЕМА УПРАВЛЕНИЯ И ОСНОВНАЯ РАМА

Схема запчастей Komatsu PC100L-5 - ОСНОВНАЯ РАМА (С ПОЛН. НИЖН. КРЫШКА) СИСТЕМА УПРАВЛЕНИЯ И ОСНОВНАЯ РАМА
FIT
1:1
100%

Артикул

Название

Примечание

Количество

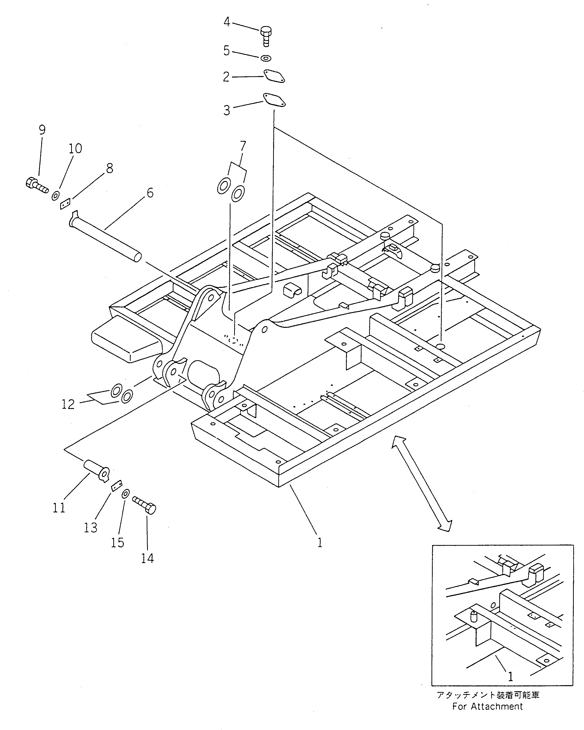
1

203-46-56282

FRAME,REVOLVING

|1

203-46-56281

FRAME,REVOLVING

|1

203-46-56280

FRAME,REVOLVING

|1

203-46-58910

FRAME¤ REVOLVING,(WITH ADD.FILTER¤2ACT¤CRUSHER)

|1

203-46-58910

FRAME¤ REVOLVING,(TRAVEL ALARM F/WRIST CONTROL)

2

203-46-56160

COVER

3

203-46-31181

GASKET

4

01010-51230

BOLT

5

01643-31232

WASHER

6

202-70-61160

PIN

7

203-70-34270

SPACER¤ 0.5MM

|7

203-70-11210

SPACER¤ 1.0MM

|7

203-70-11220

SPACER¤ 2.0MM

8

203-46-56270

PLATE

9

01010-51230

BOLT

10

01643-31232

WASHER

11

203-46-56260

PIN

12

203-70-41460

SPACER¤ 1.0MM

|12

203-70-41470

SPACER¤ 2.0MM

13

203-46-56270

PLATE

14

01010-51230

BOLT

15

01643-31232

WASHER

Выбрано товаров: 0