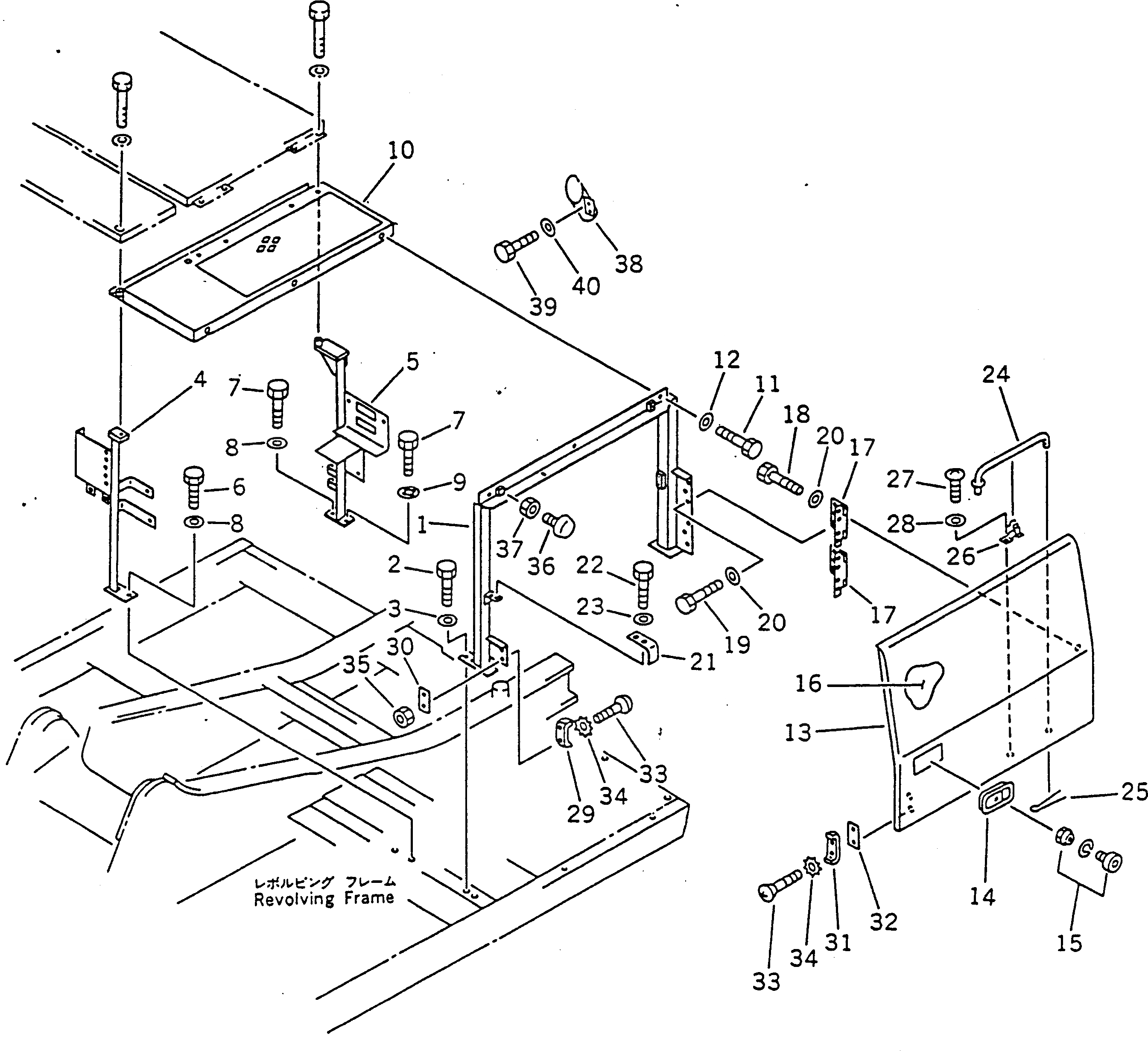
Запчасти Komatsu PC100L-5 ЛЕВ. COVER(№-) ЧАСТИ КОРПУСА

Схема запчастей Komatsu PC100L-5 - ЛЕВ. COVER(№-) ЧАСТИ КОРПУСА
FIT
1:1
100%

Артикул

Название

Примечание

Количество

1

203-54-52346

BRACKET

|1

203-54-56982

BRACKET,(EXCEPT JAPAN)

2

01010-51030

BOLT

3

01643-31032

WASHER

4

203-54-52174

BRACKET

5

203-54-56761

BRACKET

|5

203-54-56991

BRACKET,(EXCEPT JAPAN)

6

01010-51025

BOLT

7

01010-51030

BOLT

8

01643-31032

WASHER

9

01605-11023

WASHER

10

203-54-52372

COVER

11

01010-51025

BOLT

12

01643-31032

WASHER

13

203-54-52521

COVER ASS'Y

14

421-54-11372

LOCK ASS'Y

15

421-54-11381

LOCK

16

203-54-52492

SHEET

17

203-54-52412

HINGE

18

01010-51025

BOLT

19

01010-51030

BOLT

20

01643-31032

WASHER

21

203-54-52620

PLATE

22

01010-51025

BOLT

23

01643-31032

WASHER

24

203-54-52631

BAR

25

04050-13018

PIN,COTTER

26

20B-54-12210

SPRING

27

01220-40406

SCREW

28

01641-20405

WASHER

29

566-54-13410

STRIKER

30

203-54-56790

PLATE

31

566-54-14420

STOPPER

32

203-54-52610

PLATE

33

01225-40820

SCREW

34

566-54-13570

WASHER

35

01580-00806

NUT

36

203-54-56710

STOPPER

37

01580-11008

NUT

38

203-54-52730

HOLDER,(FOR JAPAN)

39

01010-51020

BOLT,(FOR JAPAN)

40

01643-31032

WASHER,(FOR JAPAN)

Выбрано товаров: 42