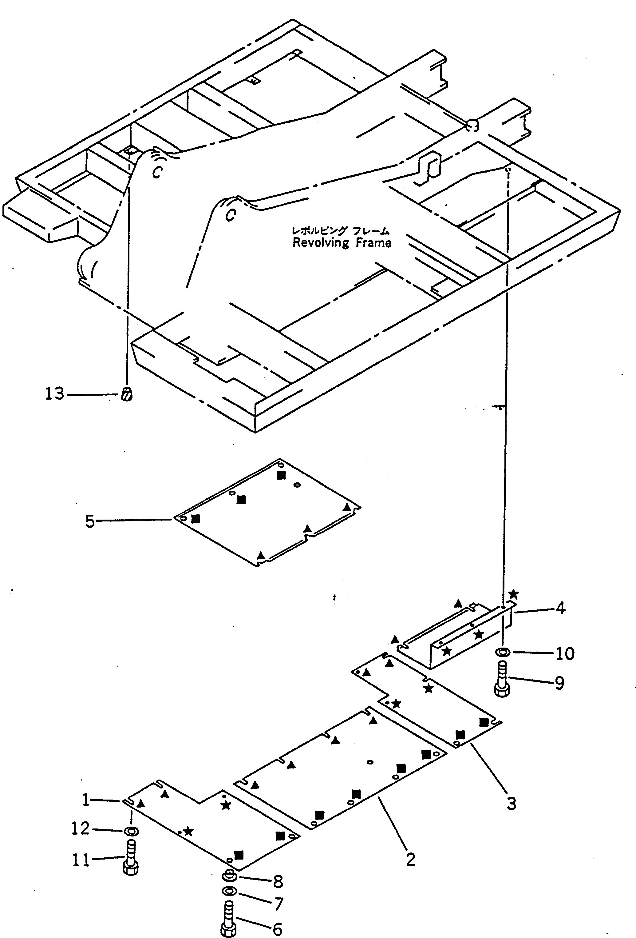
Запчасти Komatsu PC100L-5 НИЖН. КРЫШКИ ОСН. РАМЫ ЧАСТИ КОРПУСА

Схема запчастей Komatsu PC100L-5 - НИЖН. КРЫШКИ ОСН. РАМЫ ЧАСТИ КОРПУСА
FIT
1:1
100%

Артикул

Название

Примечание

Количество

1

203-54-52541

COVER

2

203-54-52663

COVER

|2

203-54-52662

COVER

3

203-54-56111

COVER

4

203-54-56841

COVER

|4

203-54-56840

COVER

5

203-54-52533

COVER

|5

203-54-52532

COVER

|5

203-54-52531

COVER

|5

203-04-56110

COVER,(WITH WATER SEPARATOR)

6

01010-51025

BOLT

7

01643-31032

WASHER

8

203-54-56960

COLLAR

9

01010-51025

BOLT

10

01643-31032

WASHER

11

01010-51025

BOLT

12

203-54-56970

WASHER

13

07049-01012

PLUG

Выбрано товаров: 18