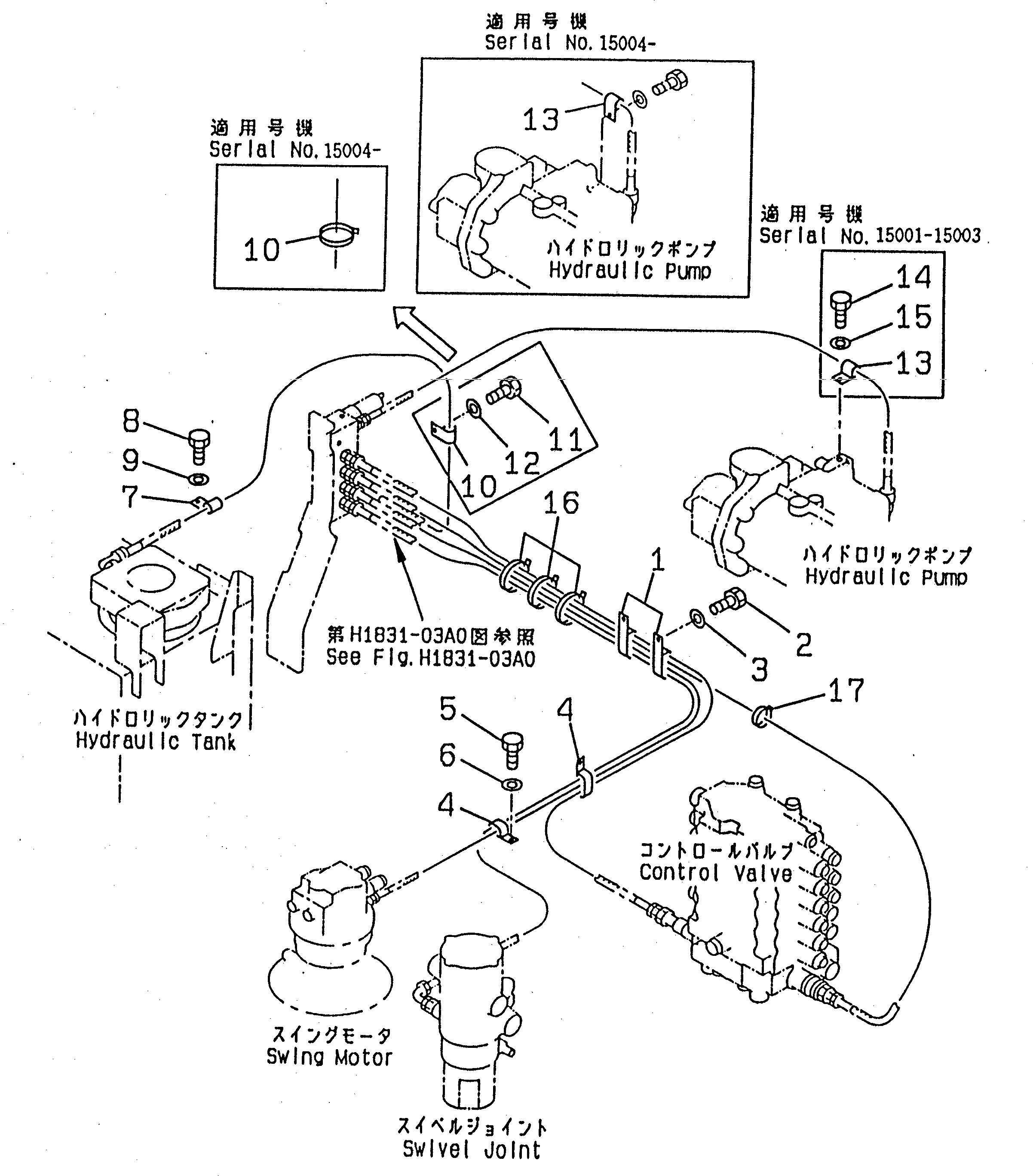
Запчасти Komatsu PC100L-6 СОЛЕНОИДНЫЙ КЛАПАН ЛИНИЯ (СОЛЕНОИДНЫЙ КЛАПАН ТРУБЫ КРЕПЛЕНИЕ)(№-7) ГИДРАВЛИКА

Схема запчастей Komatsu PC100L-6 - СОЛЕНОИДНЫЙ КЛАПАН ЛИНИЯ (СОЛЕНОИДНЫЙ КЛАПАН ТРУБЫ КРЕПЛЕНИЕ)(№-7) ГИДРАВЛИКА
FIT
1:1
100%

Артикул

Название

Примечание

Количество

1

203-62-63271

CLIP

2

01010-51220

BOLT

3

01643-31232

WASHER

4

08036-03014

CLIP

5

01010-51220

BOLT

6

01643-31232

WASHER

7

08036-01814

CLIP

8

01010-51220

BOLT

9

01643-31232

WASHER

10

08034-00519

BAND

|10

08036-01814

CLIP

11

01010-51225

BOLT

12

01643-31232

WASHER

13

08036-01214

CLIP

14

01010-51220

BOLT

15

01643-31232

WASHER

16

08034-00536

BAND

17

08034-00519

BAND

Выбрано товаров: 18