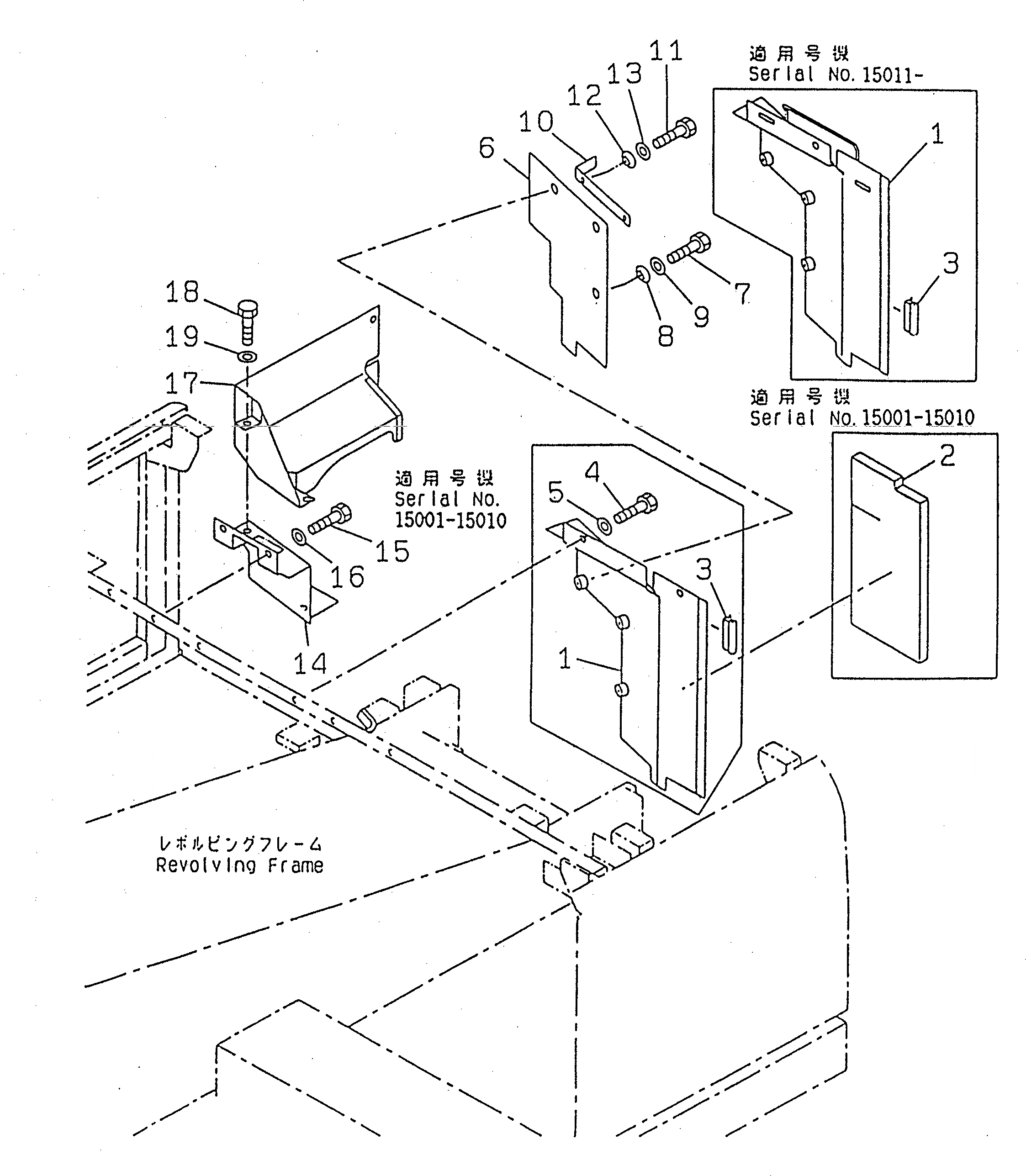
Запчасти Komatsu PC100L-6 ПЕРЕГОРОДКА. (КРЫШКАПРАВ.)(№-7) ЧАСТИ КОРПУСА

Схема запчастей Komatsu PC100L-6 - ПЕРЕГОРОДКА. (КРЫШКАПРАВ.)(№-7) ЧАСТИ КОРПУСА
FIT
1:1
100%

Артикул

Название

Примечание

Количество

1

203-54-63892

COVER

|1

203-54-63891

COVER

|1

203-54-63890

COVER

|1

203-54-61791

COVER

2

203-54-61771

SHEET

3

203-54-63310

SEAL

4

01010-51230

BOLT

5

01643-31232

WASHER

6

203-54-61671

SHEET

7

01010-51230

BOLT

8

01641-21423

WASHER

9

124-54-26540

WASHER

10

203-54-61682

PLATE

|10

203-54-61681

PLATE

11

01010-51225

BOLT

|11

01010-51230

BOLT

12

01641-21423

WASHER

13

01643-31232

WASHER

14

203-54-61652

COVER

|14

203-54-61651

COVER

15

01010-51230

BOLT

16

01643-31232

WASHER

17

203-54-61662

COVER

18

01010-51220

BOLT

19

01643-31232

WASHER

Выбрано товаров: 25