Запчасти Komatsu PC100L-6 КАБИНА (С ПЕРЕДН. GAURD) (КАБИНА¤ РУЧКА И ФИКСАТОР ОТКРЫТИЯ)(№-) ОСНОВН. КОМПОНЕНТЫ И РЕМКОМПЛЕКТЫ

Схема запчастей Komatsu PC100L-6 - КАБИНА (С ПЕРЕДН. GAURD) (КАБИНА¤ РУЧКА И ФИКСАТОР ОТКРЫТИЯ)(№-) ОСНОВН. КОМПОНЕНТЫ И РЕМКОМПЛЕКТЫ
FIT
1:1
100%

Артикул

Название

Примечание

Количество

|1

20Y-54-00327

OPERATOR'S CAB ASS'Y

|1

20Y-54-00326

OPERATOR'S CAB ASS'Y

|1

20Y-54-00325

OPERATOR'S CAB ASS'Y

|1

20Y-54-00324

OPERATOR'S CAB ASS'Y

|1

20Y-54-00323

OPERATOR'S CAB ASS'Y

|1

20Y-54-00322

OPERATOR'S CAB ASS'Y

|1

20Y-54-00321

OPERATOR'S CAB ASS'Y

|1

20Y-54-00320

OPERATOR'S CAB ASS'Y

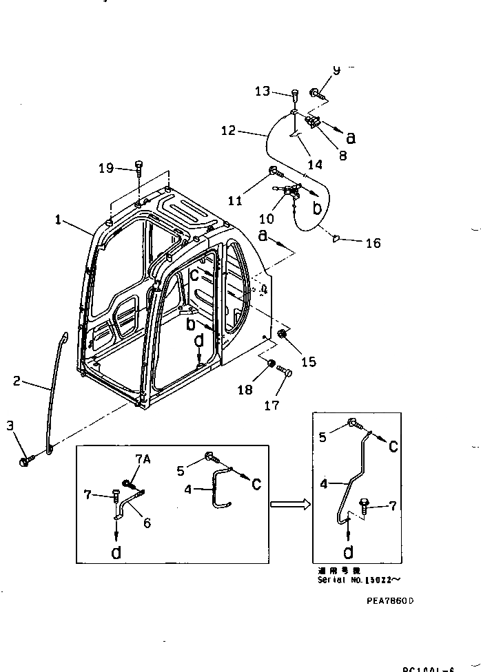
1

CAB

2

20Y-54-35680

GRIP

3

01435-30820

BOLT

4

20Y-54-36240

GRIP

|4

20Y-54-35151

GRIP

5

01435-31025

BOLT

|5

01435-31025

BOLT

6

20Y-54-35181

GRIP

7

01435-31020

BOLT

|7

01240-01016

SCREW

7A

01240-01025

SCREW

8

20Y-54-36380

LOCK

9

01435-30820

BOLT

10

20Y-54-35981

LOCK,RELEASE

11

01435-30616

BOLT

12

20Y-54-35993

CABLE

|12

20Y-54-35992

CABLE

13

04205-10520

PIN

14

04052-10530

PIN

15

09415-01610

CAP

16

08051-00801

CLIP

17

20Y-54-11611

STOPPER

18

01580-11008

NUT

19

01010-31218

BOLT

Выбрано товаров: 32