Запчасти Komatsu PC100N-6 НИЖН. КРЫШКА(№9-) ЧАСТИ КОРПУСА

Схема запчастей Komatsu PC100N-6 - НИЖН. КРЫШКА(№9-) ЧАСТИ КОРПУСА
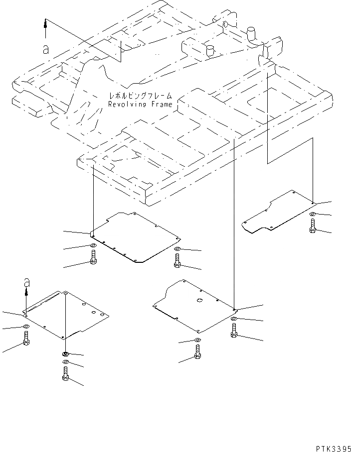
1
2
3
4
5
6
7
8
9
10
11
12
13
14
15
16
17
18
19
FIT
1:1
100%

Артикул

Название

Примечание

Количество

1

20X-54-41121

PLATE

2

01010-81230

BOLT

3

01643-31232

WASHER

4

01010-81230

BOLT

5

124-54-26540

WASHER

6

20X-54-41131

PLATE

7

01010-81230

BOLT

8

01643-31232

WASHER

9

01010-81230

BOLT

10

124-54-26540

WASHER

11

20X-54-41151

COVER

12

01010-81230

BOLT

13

01643-31232

WASHER

14

01010-81230

BOLT

15

01643-31232

WASHER

16

203-54-62670

COLLAR

17

20X-54-41142

COVER

18

01010-81230

BOLT

19

01643-31232

WASHER

Выбрано товаров: 19