Запчасти Komatsu PC100N-6 ЦИЛИНДР РУКОЯТИ(ВНУТР. ЧАСТИ) ОСНОВН. КОМПОНЕНТЫ И РЕМКОМПЛЕКТЫ

Схема запчастей Komatsu PC100N-6 - ЦИЛИНДР РУКОЯТИ(ВНУТР. ЧАСТИ) ОСНОВН. КОМПОНЕНТЫ И РЕМКОМПЛЕКТЫ
FIT
1:1
100%

Артикул

Название

Примечание

Количество

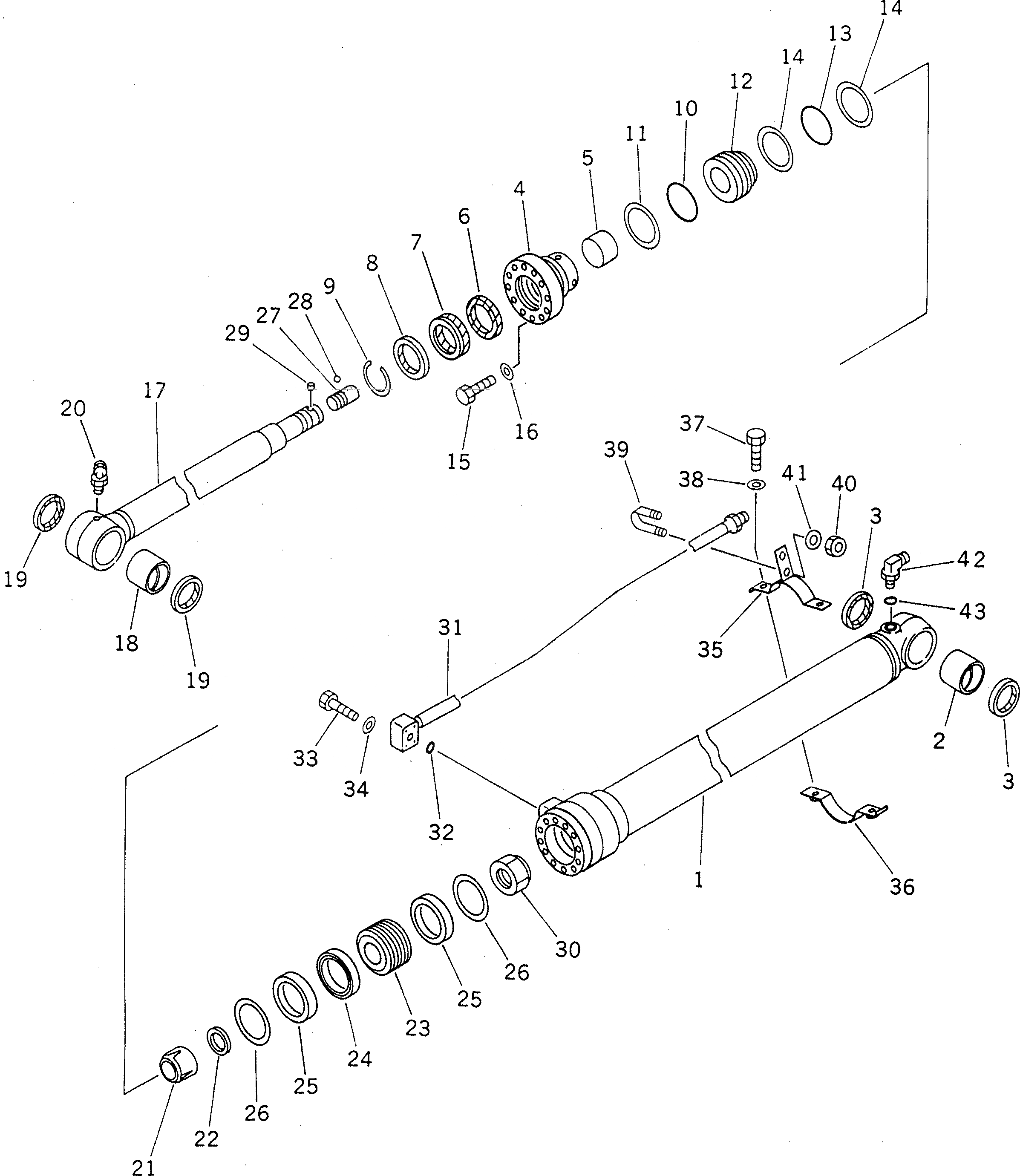
|1

20X-63-02311

CYLINDER ASS'Y \

1

20X-63-64140

CYLINDER

2

707-76-65140

BUSHING

3

07145-00065

SEAL,DUST (KIT)

4

707-27-10660

HEAD,CYLINDER

5

707-52-90400

BUSHING

6

707-51-65630

RING,BUFFER (KIT)

7

707-51-65030

PACKING (KIT)

8

144-63-92170

SEAL,DUST (KIT)

9

07179-12079

RING,SNAP

10

07000-15100

O-RING (KIT)

11

07001-05100

RING,BACK-UP (KIT)

12

707-71-32340

COLLAR

13

07000-15100

O-RING (KIT)

14

07001-05100

RING,BACK-UP (KIT)

15

01010-81465

BOLT

16

705-17-04980

WASHER

17

20X-63-64120

ROD

18

707-76-65040

BUSHING

19

07145-00065

SEAL,DUST (KIT)

20

07020-00675

FITTING,GREASE

21

707-71-60681

PLUNGER

22

707-41-10190

WASHER

23

707-36-10530

PISTON

24

707-44-10280

RING,PISTON (KIT)

25

707-39-10520

RING,WEAR (KIT)

26

707-44-10911

RING

27

707-71-60100

PLUNGER

28

04260-00635

BALL

29

707-71-91280

CAP

30

07165-14547

NUT

31

20X-63-64170

TUBE

32

07000-13025

O-RING (KIT)

33

01010-50850

BOLT

34

01643-50823

WASHER

35

707-88-95691

BRACKET

36

707-88-96190

BAND

37

01010-51035

BOLT

38

01643-51032

WASHER

39

07283-22236

CLIP

40

01599-01011

NUT

41

01643-31032

WASHER

42

07235-10522

ELBOW

43

07002-12434

O-RING (KIT)

Выбрано товаров: 44