Запчасти Komatsu PC100S-3 КАБИНА¤ ОСНОВН. КОНСТРУКЦИЯ (ДЛЯ УДЛИНН. РЫЧАГ УПРАВЛ-Е)(№-) ОСНОВНАЯ РАМА И КАБИНА

Схема запчастей Komatsu PC100S-3 - КАБИНА¤ ОСНОВН. КОНСТРУКЦИЯ (ДЛЯ УДЛИНН. РЫЧАГ УПРАВЛ-Е)(№-) ОСНОВНАЯ РАМА И КАБИНА
FIT
1:1
100%

Артикул

Название

Примечание

Количество

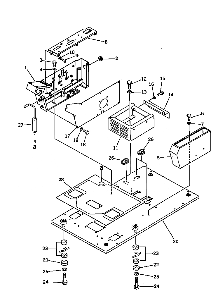
1

203-54-41463

BOX,R.H.

2

08037-03614

GROMMET

3

01010-51025

BOLT

4

01643-31032

WASHER

5

203-54-41474

BOX,L.H.

6

01010-51020

BOLT

7

01643-31032

WASHER

8

203-54-41482

PANEL

9

01220-40816

SCREW

10

01643-30823

WASHER

11

20X-54-23140

BRACKET

12

01010-51230

BOLT

13

01643-31232

WASHER

14

21K-54-25211

COVER

15

01010-51020

BOLT

16

01643-31032

WASHER

17

203-54-41512

COVER

18

01010-50816

BOLT

19

01643-30823

WASHER

20

203-54-41336

FRAME,FLOOR

21

201-54-21860

COLLAR

22

205-54-51950

PLATE

23

203-54-21110

CUSHION

24

01010-51675

BOLT

25

01643-31645

WASHER

26

176-911-4160

GROMMET

27

203-54-41412

PIN

28

203-54-41382

MAT,FLOOR

Выбрано товаров: 28