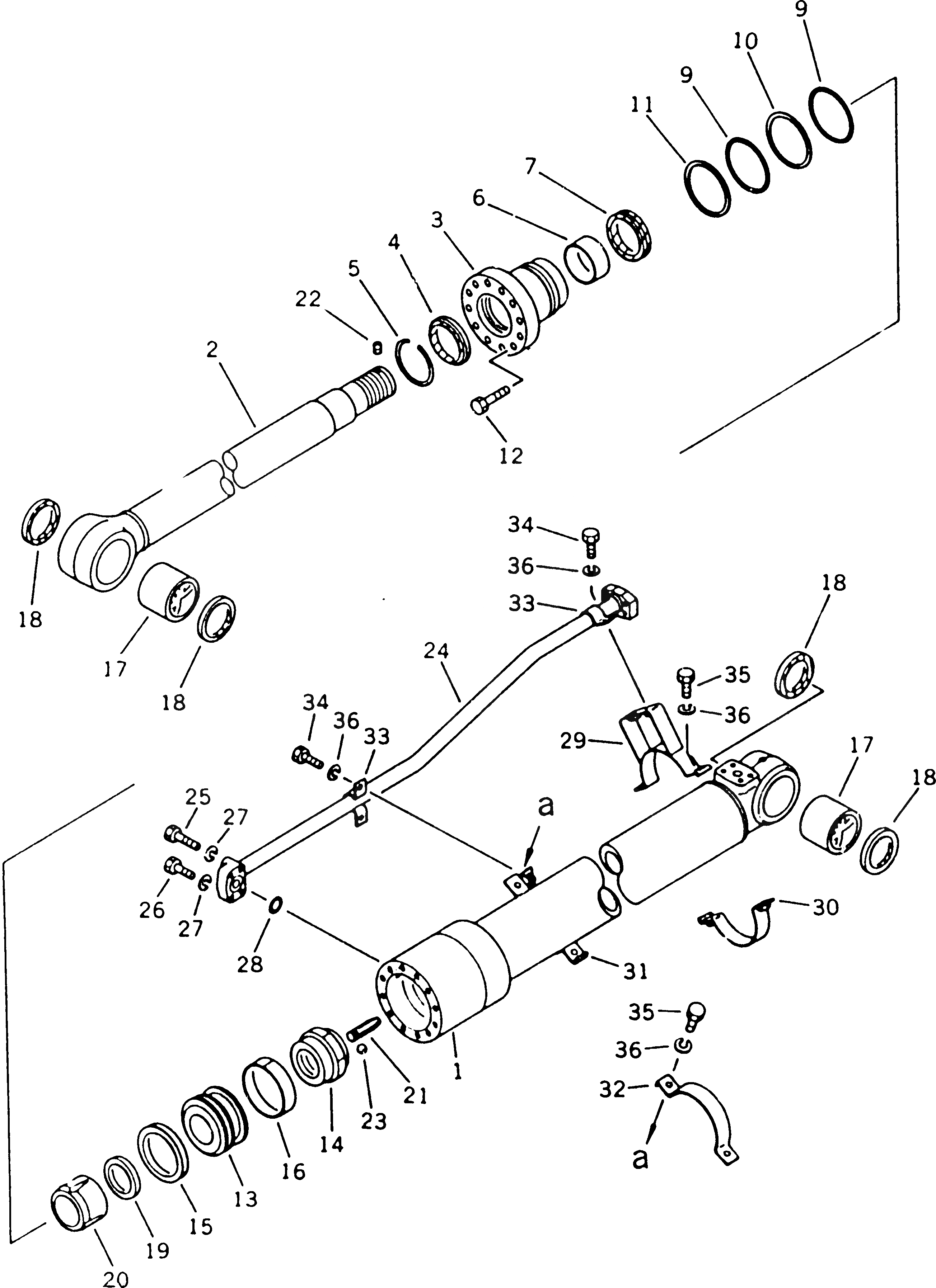
Запчасти Komatsu PC100S-3 ЦИЛИНДР РУКОЯТИ(№8-98) УПРАВЛ-Е РАБОЧИМ ОБОРУДОВАНИЕМ

Схема запчастей Komatsu PC100S-3 - ЦИЛИНДР РУКОЯТИ(№8-98) УПРАВЛ-Е РАБОЧИМ ОБОРУДОВАНИЕМ
FIT
1:1
100%

Артикул

Название

Примечание

Количество

|1

202-63-62500

ARM CYLINDER ASS'Y

1

202-63-62540

CYLINDER

2

202-63-62520

ROD,PISTON

3

707-28-11370

HEAD,CYLINDER

4

144-63-94170

SEAL,DUST (KIT)

5

07179-00097

RING,SNAP

6

07177-07530

BUSHING

7

707-51-75211

PACKING,ROD (KIT)

9

07000-12105

O-RING (KIT)

10

07146-02106

RING,BACK-UP (KIT)

11

707-35-91110

RING,BACK-UP (KIT)

12

01010-51655

BOLT

13

707-36-11461

PISTON

|13

707-36-11460

PISTON

14

707-68-10580

NUT

15

707-44-11080

RING,PISTON (KIT)

16

07155-01125

RING,WEAR (KIT)

17

707-76-70130

BUSHING

18

07145-00070

SEAL,DUST (KIT)

19

707-40-11470

RETAINER

20

707-71-50880

PLUNGER

21

707-71-50230

PLUNGER

22

707-71-91250

SCREW

23

04260-00635

BALL

24

202-63-62570

TUBE

25

01010-50855

BOLT

26

01010-50845

BOLT

27

01602-20825

WASHER,SPRING

28

07000-13030

O-RING (KIT)

29

707-88-99150

BAND

30

707-88-99120

BAND

31

707-88-99190

BAND

32

707-88-99110

BAND

33

07282-02793

CLAMP

34

01010-51020

BOLT

35

01010-51035

BOLT

36

01602-21030

WASHER,SPRING

Выбрано товаров: 37