Запчасти Komatsu PC100S-3 КЛАПАН МЕХ-М УПРАВЛ-Я (ДЛЯ WRIST УПРАВЛ-Е)(№8-97) ПОВОРОТН. И СИСТЕМА УПРАВЛЕНИЯ

Схема запчастей Komatsu PC100S-3 - КЛАПАН МЕХ-М УПРАВЛ-Я (ДЛЯ WRIST УПРАВЛ-Е)(№8-97) ПОВОРОТН. И СИСТЕМА УПРАВЛЕНИЯ
FIT
1:1
100%

Артикул

Название

Примечание

Количество

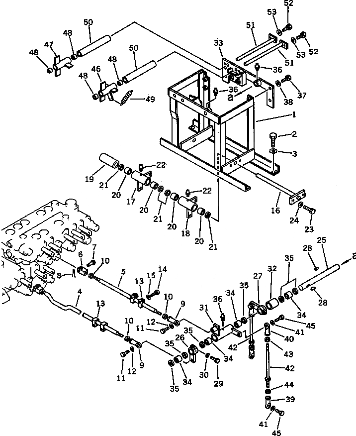
1

203-43-42940

BRACKET

2

01010-51225

BOLT

3

01643-31232

WASHER

4

203-43-43160

ROD

5

203-43-43170

ROD

6

20T-43-22210

YOKE

7

04205-10822

PIN

8

04050-12012

PIN,COTTER

9

04250-41056

END,ROD

10

01582-11008

NUT

11

01010-51030

BOLT

12

04254-01032

SPACER

13

203-43-42541

PLATE

14

01010-50825

BOLT

15

01643-30823

WASHER

16

203-43-42950

SHAFT

17

203-43-42960

LEVER

18

203-43-42970

LEVER

19

203-43-43150

SPACER

20

06120-02016

BEARING

21

06122-02004

SEAL,BEARING

22

07020-00000

FITTING,GREASE

23

01010-51020

BOLT

24

01643-31032

WASHER

25

203-43-42980

SHAFT

26

203-43-43120

LEVER

27

203-43-42990

LEVER

28

04010-00519

KEY

29

01010-50830

BOLT

30

01602-20825

WASHER,SPRING

31

203-43-43110

LEVER

32

203-43-43180

SPACER

33

203-43-43140

BRACKET

34

06120-02016

BEARING

35

06122-02004

SEAL,BEARING

36

07020-00000

FITTING,GREASE

37

01010-51025

BOLT

38

01643-31032

WASHER

39

04250-41056

END,ROD

40

04250-61056

END,ROD¤ L.H. THREAD

41

04254-01032

SPACER

42

04248-31028

ROD

43

01508-21006

NUT,L.H. THREAD

44

01582-11008

NUT,L.H. THREAD

45

01010-51030

BOLT

46

203-43-42551

LEVER,L.H.

47

203-43-42561

LEVER,R.H.

48

203-43-31420

BUSHING

49

203-43-43230

SPRING

50

203-43-43190

SPACER

51

203-43-42530

SHAFT

52

01010-51016

BOLT

53

01643-31032

WASHER

Выбрано товаров: 0