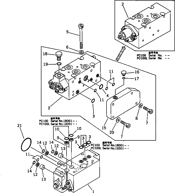
Запчасти Komatsu PC100SS-3 СЕРВОКЛАПАН¤ ЗАДН. (/) УПРАВЛ-Е РАБОЧИМ ОБОРУДОВАНИЕМ

Схема запчастей Komatsu PC100SS-3 - СЕРВОКЛАПАН¤ ЗАДН. (/) УПРАВЛ-Е РАБОЧИМ ОБОРУДОВАНИЕМ
FIT
1:1
100%

Артикул

Название

Примечание

Количество

|1

708-23-01012

PUMP ASS'Y,(HPV55+55)

|1

708-23-01011

PUMP ASS'Y,(HPV55+55)

|1

708-23-01010

PUMP ASS'Y,(HPV55+55)

|1

708-23-10101

PUMP ASS'Y,(HPV55+55)

|1

708-23-07211

SERVO VALVE ASS'Y,REAR

|1

708-23-07210

SERVO VALVE ASS'Y,REAR

|1

708-23-16100

SERVO VALVE ASS'Y,REAR

1

708-23-16200

SERVO VALVE SUB A.,REAR

2

708-23-07611

VALVE ASS'Y,CO AND NC

|2

708-23-07610

VALVE ASS'Y,CO AND NC

|2

708-23-17300

VALVE ASS'Y,CO AND NC

|2

708-23-17100

VALVE ASS'Y,CO AND NC

3

07000-02011

O-RING

|3

07000-02011

O-RING

4

07000-02018

O-RING

5

708-25-19160

BOLT

6

01602-20825

WASHER,SPRING

7

01252-30835

BOLT

8

01602-20825

WASHER,SPRING

9

720-68-11920

FILTER

|9

720-68-11920

FILTER

10

07000-12010

O-RING

|10

07000-12010

O-RING

11

07000-11009

O-RING

|11

07000-11009

O-RING

12

720-68-11920

FILTER

13

708-23-19130

ORIFICE

14

07000-12010

O-RING

15

708-23-18241

PLATE

16

07040-11007

PLUG

17

07002-01023

O-RING

18

07040-11409

PLUG

19

07002-01423

O-RING

20

01643-30823

WASHER

21

07000-03048

O-RING

Выбрано товаров: 35