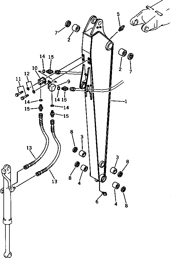
Запчасти Komatsu PC100SS-3 УДЛИНН. РУКОЯТЬ(№98-) РАБОЧЕЕ ОБОРУДОВАНИЕ

Схема запчастей Komatsu PC100SS-3 - УДЛИНН. РУКОЯТЬ(№98-) РАБОЧЕЕ ОБОРУДОВАНИЕ
FIT
1:1
100%

Артикул

Название

Примечание

Количество

|1

202-943-0023

LONG ARM ASS'Y

|1

202-943-0022

LONG ARM ASS'Y

1

ARM,LONG

|1

ARM,LONG

2

203-70-32142

BUSHING

|2

203-70-32141

BUSHING

3

203-70-33150

BUSHING

4

203-70-42181

BUSHING

|4

203-70-42180

BUSHING

5

07020-00900

FITTING,GREASE

6

07020-00000

FITTING,GREASE

7

07145-00070

SEAL,DUST

8

203-70-33210

SEAL,DUST

9

202-943-5130

BLOCK,L.H.

10

202-943-5140

BLOCK,R.H.

11

01010-51230

BOLT

12

01643-31232

WASHER

13

07096-20412

HOSE

14

07002-12434

O-RING

15

232-60-14271

NIPPLE

|15

22W-60-16310

NIPPLE

Выбрано товаров: 21