Запчасти Komatsu PC100SS-3 ПОДДЕРЖИВАЮЩИЙ КАТОК (ДЛЯ ЯПОН.)(№8-8) ХОДОВАЯ

Схема запчастей Komatsu PC100SS-3 - ПОДДЕРЖИВАЮЩИЙ КАТОК (ДЛЯ ЯПОН.)(№8-8) ХОДОВАЯ
FIT
1:1
100%

Артикул

Название

Примечание

Количество

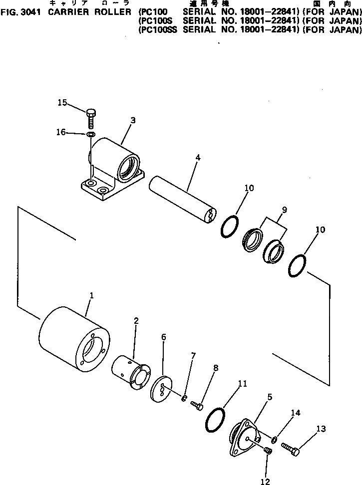
|1

203-30-00150

CARRIER ROLLER ASS'Y

|1

203-30-00120

CARRIER ROLLER ASS'Y

1

203-30-43112

ROLLER

2

203-30-43160

BUSHING

3

203-30-43131

COLLAR

4

203-30-43140

SHAFT

5

203-30-43150

COVER

6

203-30-43170

PLATE

7

01602-20825

WASHER,SPRING

8

01010-50820

BOLT

|9

110-30-00045

FLOATING SEAL ASS'Y

9

RING,SEAL

10

O-RING

11

07000-02060

O-RING

12

07043-50108

PLUG

13

01010-51030

BOLT

14

01643-31032

WASHER

15

01010-51235

BOLT

16

01643-31232

WASHER

Выбрано товаров: 19