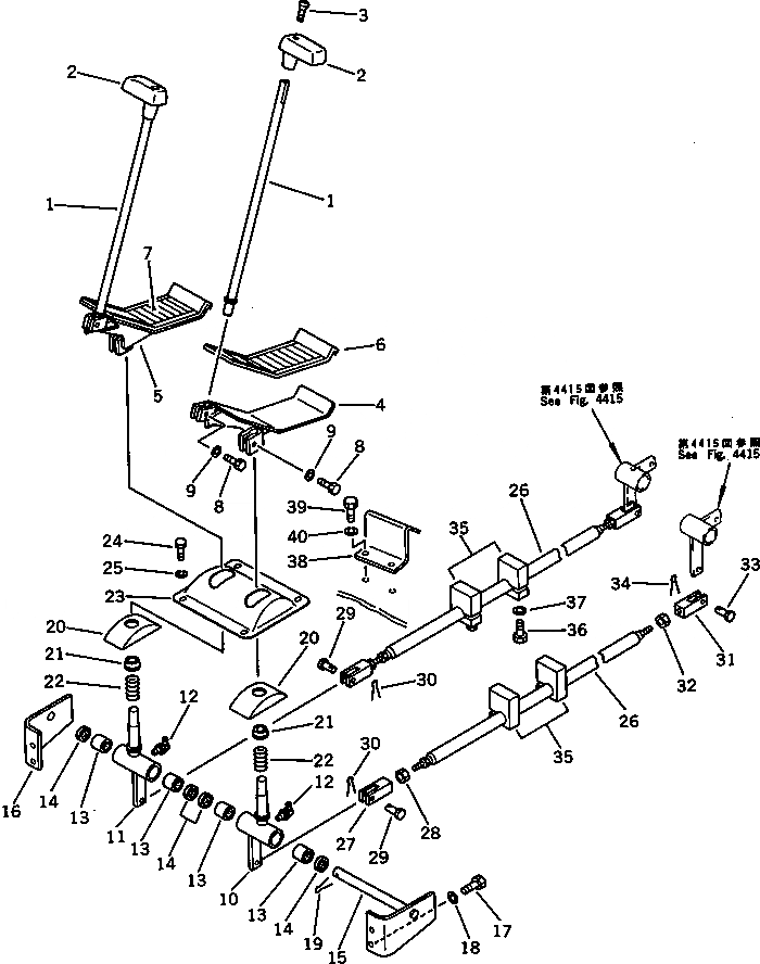
Запчасти Komatsu PC100SS-3 КОНТРОЛЬ ХОДА (ДЛЯ WRIST УПРАВЛ-Е) (АВТОМ. ЗАМЕДЛЕНИЕ ОБОРОТОВ)(№8-..) ПОВОРОТН. И СИСТЕМА УПРАВЛЕНИЯ

Схема запчастей Komatsu PC100SS-3 - КОНТРОЛЬ ХОДА (ДЛЯ WRIST УПРАВЛ-Е) (АВТОМ. ЗАМЕДЛЕНИЕ ОБОРОТОВ)(№8-..) ПОВОРОТН. И СИСТЕМА УПРАВЛЕНИЯ
FIT
1:1
100%

Артикул

Название

Примечание

Количество

1

205-43-71871

LEVER

2

203-43-41340

KNOB

3

01225-40625

SCREW

4

203-43-41612

PEDAL,L.H.

5

203-43-41592

PEDAL,R.H.

6

205-43-71911

CAP,PEDAL¤ L.H.

7

205-43-71921

CAP,PEDAL¤ R.H.

8

01010-50825

BOLT

9

01643-30823

WASHER

10

203-43-42373

LEVER,L.H.

11

203-43-42671

LEVER,R.H.

12

07020-00900

FITTING,GREASE

13

06120-02016

BEARING

14

06122-02004

SEAL,BEARING

15

203-43-42721

SHAFT

16

203-43-42731

BRACKET

17

01010-51030

BOLT

18

01643-31032

WASHER

19

04050-13030

PIN,COTTER

20

20S-43-11230

COVER

21

203-43-41660

SPACER

22

09340-10130

SPRING

23

203-43-41541

COVER

24

01010-50820

BOLT

25

01602-20825

WASHER,SPRING

26

203-43-41511

ROD

27

04220-21040

YOKE,L.H. THREAD

28

01508-21006

NUT,L.H. THREAD

29

04205-11028

PIN

30

04050-13015

PIN,COTTER

31

04210-21040

YOKE

32

01582-11008

NUT

33

04205-11028

PIN

34

04050-13015

PIN,COTTER

35

203-43-42750

PLATE

36

01010-51030

BOLT

37

01643-31032

WASHER

38

203-43-42572

BRACKET

39

01010-51030

BOLT

40

01602-21030

WASHER,SPRING

Выбрано товаров: 0