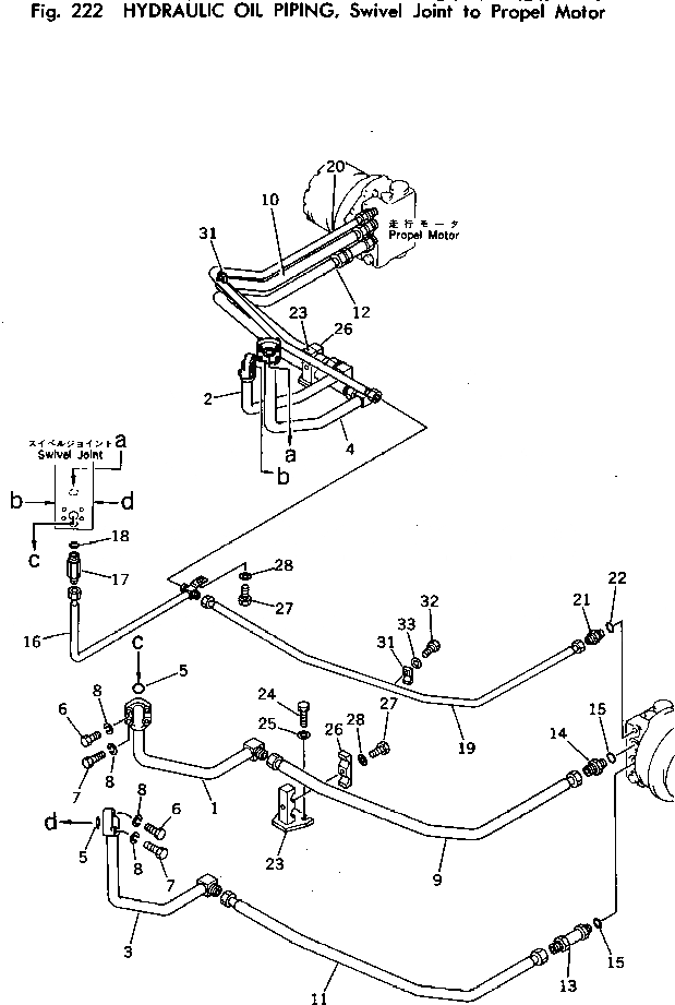
Запчасти Komatsu PC100U-2 ГИДРАВЛ МАСЛОПРОВОДЯЩАЯ ЛИНИЯ¤ SWIVEL JINT TO/FROM PКАНАТL МОТОР ХОД И КОНЕЧНАЯ ПЕРЕДАЧА

Схема запчастей Komatsu PC100U-2 - ГИДРАВЛ МАСЛОПРОВОДЯЩАЯ ЛИНИЯ¤ SWIVEL JINT TO/FROM PКАНАТL МОТОР ХОД И КОНЕЧНАЯ ПЕРЕДАЧА
FIT
1:1
100%

Артикул

Название

Примечание

Количество

1

203-62-36471

TUBE,L.H.

2

203-62-36481

TUBE,R.H.

3

203-62-36451

TUBE,L.H.

4

203-62-36461

TUBE,R.H.

5

07000-13030

O-RING

6

01010-50835

BOLT

7

01010-50850

BOLT

8

01602-20825

WASHER

9

203-62-36523

TUBE,L.H.

10

203-62-36533

TUBE,R.H.

11

203-62-36493

TUBE,L.H.

12

203-62-36513

TUBE,R.H.

13

202-62-14181

TUBE

14

07230-10628

UNION

15

07002-12434

O-RING

16

203-62-36541

TUBE

17

201-62-15340

NIPPLE

18

07002-02034

O-RING

19

203-62-36552

TUBE,L.H.

20

203-62-36562

TUBE,R.H.

21

07230-10315

UNION

22

07002-02034

O-RING

23

203-62-36571

CLAMP

24

01010-51025

BOLT

25

01643-31032

WASHER

26

15R-62-14620

CLAMP

27

01010-51245

BOLT

28

01643-31232

WASHER

29

01010-51020

BOLT

30

01643-31032

WASHER

31

20T-62-13590

CLAMP

32

01010-51035

BOLT

33

01643-31032

WASHER

Выбрано товаров: 33