Запчасти Komatsu PC100U-2 PКАНАТL РЫЧАГ УПРАВЛ-Я И МЕХАНИЗМ ХОД И КОНЕЧНАЯ ПЕРЕДАЧА

Схема запчастей Komatsu PC100U-2 - PКАНАТL РЫЧАГ УПРАВЛ-Я И МЕХАНИЗМ ХОД И КОНЕЧНАЯ ПЕРЕДАЧА
FIT
1:1
100%

Артикул

Название

Примечание

Количество

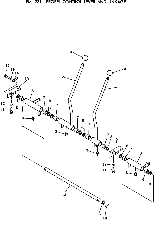
1

202-43-48171

LEVER,L.H.

2

202-43-48161

LEVER,R.H.

3

07020-00000

FITTING

4

201-43-28160

KNOB

5

202-43-48211

LEVER

6

202-43-48250

LEVER

7

06120-03020

BEARING

8

06122-03004

SEAL

9

203-43-21230

BRACKET

10

203-43-21220

BRACKET

11

01010-31230

BOLT

12

01643-31232

WASHER

13

203-43-31311

SHAFT

14

205-43-51520

END,ROD

15

01010-30825

BOLT

16

01602-00825

WASHER

17

01640-03045

WASHER

18

04050-03040

PIN

Выбрано товаров: 0