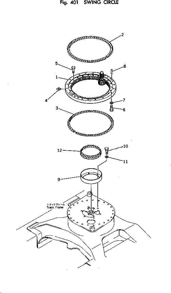
Запчасти Komatsu PC100U-2 ПОВОРОТН. КРУГ ПОВОРОТН. И СИСТЕМА УПРАВЛЕНИЯS

Схема запчастей Komatsu PC100U-2 - ПОВОРОТН. КРУГ ПОВОРОТН. И СИСТЕМА УПРАВЛЕНИЯS
FIT
1:1
100%

Артикул

Название

Примечание

Количество

1

203-25-21100

CIRCLE

2

203-25-12110

SEAL

3

203-25-12120

SEAL

4

07020-00000

FITTING

5

01011-31800

BOLT

6

01011-31800

BOLT

7

01643-31845

WASHER

8

04020-01638

PIN

9

203-30-37110

COVER

10

01010-31225

BOLT

11

01643-31232

WASHER

12

203-30-37120

SEAL

Выбрано товаров: 12