Запчасти Komatsu PC100U-2 КЛАПАН РЫЧАГ УПРАВЛ-Я И МЕХАНИЗМ (/) PКАНАТL-ВЫС.¤ ПОВОРОТ СТРЕЛЫ ПОВОРОТН. И СИСТЕМА УПРАВЛЕНИЯS

Схема запчастей Komatsu PC100U-2 - КЛАПАН РЫЧАГ УПРАВЛ-Я И МЕХАНИЗМ (/) PКАНАТL-ВЫС.¤ ПОВОРОТ СТРЕЛЫ ПОВОРОТН. И СИСТЕМА УПРАВЛЕНИЯS
FIT
1:1
100%

Артикул

Название

Примечание

Количество

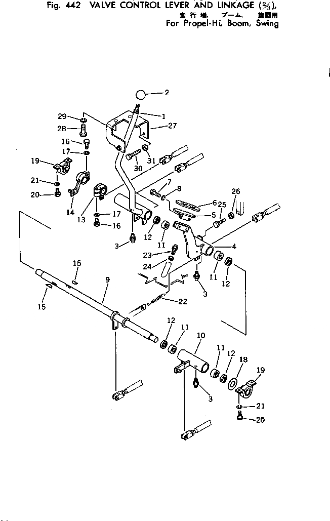
1

202-43-48181

LEVER

2

20R-43-11290

KNOB

3

07020-00000

FITTING

4

202-43-48191

LEVER

5

20D-43-13441

PEDAL

6

20D-43-14370

CAP

7

01010-50830

BOLT

8

01602-20825

WASHER

9

203-43-31610

SHAFT

10

202-43-48220

LEVER

11

06120-03020

BEARING

12

06122-03004

SEAL

13

203-43-31641

LEVER

14

202-43-48231

LEVER

15

04010-00732

KEY

16

01010-51245

BOLT

17

01643-31232

WASHER

18

01640-23045

WASHER

19

202-43-11310

BEARING

20

01010-51020

BOLT

21

01602-21030

WASHER

22

154-43-15330

SPRING

23

09311-31237

BUMPER

24

01580-11210

NUT

25

01016-50840

BOLT

26

01580-10806

NUT

27

202-43-48241

BRACKET

28

01010-51235

BOLT

29

01602-01236

WASHER

30

01016-51065

BOLT

31

01580-01008

NUT

Выбрано товаров: 31