Запчасти Komatsu PC100U-2 ПОВОРОТ СТРЕЛЫ KICK OUT (/) ПОВОРОТН. И СИСТЕМА УПРАВЛЕНИЯS

Схема запчастей Komatsu PC100U-2 - ПОВОРОТ СТРЕЛЫ KICK OUT (/) ПОВОРОТН. И СИСТЕМА УПРАВЛЕНИЯS
FIT
1:1
100%

Артикул

Название

Примечание

Количество

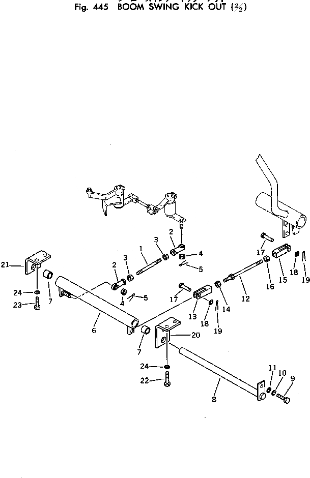
1

04245-41011

ROD

2

04250-51056

END

3

01582-11008

NUT

4

01593-11008

NUT

5

04050-12018

PIN

|$5

202-43-00080

LEVER ASS'Y

6

LEVER

7

09350-02220

BUSHING

8

20S-43-11310

SHAFT

9

01010-51025

BOLT

10

01602-21030

WASHER

11

01643-31032

WASHER

12

04248-31018

ROD

13

04211-21055

YOKE

14

01582-11008

NUT

15

04221-21055

YOKE

16

01508-21006

NUT, L.H. THREAD

17

04205-11030

PIN

18

01641-21016

WASHER

19

04050-13015

PIN

20

202-43-48410

BRACKET

21

202-43-48420

BRACKET

22

01010-51030

BOLT

23

01010-51025

BOLT

24

01643-31032

WASHER

Выбрано товаров: 0