Запчасти Komatsu PC100U-2 УПРАВЛЯЮЩ. КЛАПАН¤ ДЛЯ PКАНАТL ВЫС. УПРАВЛ-Е РАБОЧИМ ОБОРУДОВАНИЕМ

Схема запчастей Komatsu PC100U-2 - УПРАВЛЯЮЩ. КЛАПАН¤ ДЛЯ PКАНАТL ВЫС. УПРАВЛ-Е РАБОЧИМ ОБОРУДОВАНИЕМ
FIT
1:1
100%

Артикул

Название

Примечание

Количество

|$0

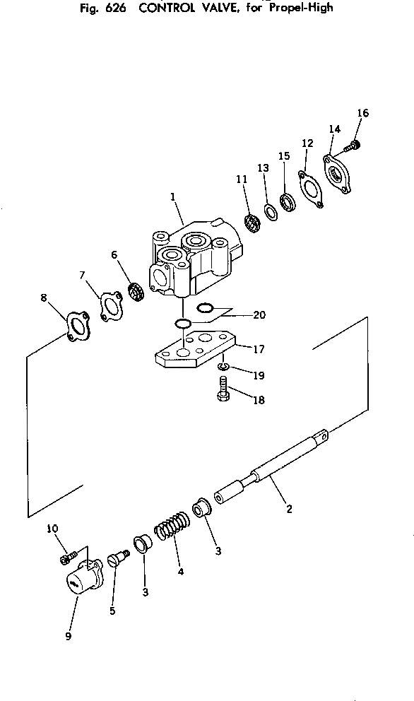
702-15-33000

VALVE ASS'Y

1

BODY

2

SPOOL

3

700-22-11290

RETAINER

4

700-22-11831

SPRING

5

700-22-11320

PLUG

6

700-22-11252

U-PACKING

7

700-22-11420

GASKET

8

700-22-11281

PLATE

9

700-22-11331

COVER

10

01252-40616

BOLT

11

700-22-11252

U-PACKING

12

700-22-11420

GASKET

13

700-22-11430

COLLAR

14

700-22-11270

PLATE

15

700-22-11261

SEAL

16

01252-40616

BOLT

17

702-15-33120

COVER

18

01010-51030

BOLT

19

01602-21030

WASHER

20

07000-12020

O-RING

Выбрано товаров: 21