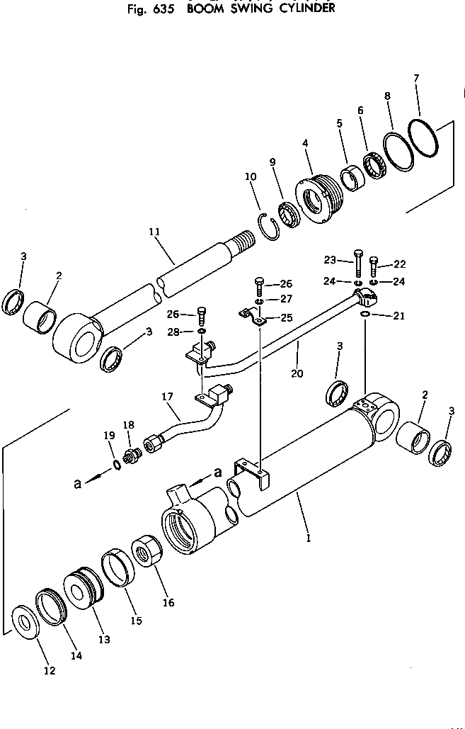
Запчасти Komatsu PC100U-2 ЦИЛИНДР ПОВОРОТА СТРЕЛЫ УПРАВЛ-Е РАБОЧИМ ОБОРУДОВАНИЕМ

Схема запчастей Komatsu PC100U-2 - ЦИЛИНДР ПОВОРОТА СТРЕЛЫ УПРАВЛ-Е РАБОЧИМ ОБОРУДОВАНИЕМ
FIT
1:1
100%

Артикул

Название

Примечание

Количество

|$0

202-63-13101

CYLINDER ASS'Y

1

202-63-13141

CYLINDER

2

07143-10706

BUSHING

3

07145-00070

SEAL

4

707-29-12491

HEAD

5

07177-07030

BUSHING

6

707-51-70211

PACKING

7

07000-12125

O-RING

8

111-63-81230

RING

9

144-63-95170

SEAL

10

07179-00093

RING

11

202-63-13121

ROD

12

707-41-10110

RETAINER

13

707-36-12290

PISTON

14

707-44-12080

RING

15

07155-01230

RING

16

07165-15252

NUT

17

202-63-13170

TUBE

18

07230-10628

UNION

19

07002-12434

O-RING

20

202-63-13180

TUBE

21

07000-13030

O-RING

22

01010-50835

BOLT

23

01010-50850

BOLT

24

01602-20825

WASHER

25

07282-02793

CLAMP

26

01010-51025

BOLT

27

01602-21030

WASHER

28

01643-31032

WASHER

Выбрано товаров: 29