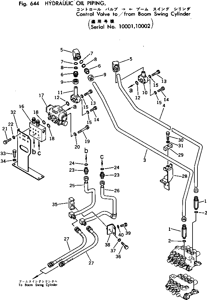
Запчасти Komatsu PC100U-2 ГИДРАВЛ МАСЛОПРОВОДЯЩАЯ ЛИНИЯ¤ УПРАВЛЯЮЩ. КЛАПАН TO/FROM ЦИЛИНДР ПОВОРОТА СТРЕЛЫ(№-) УПРАВЛ-Е РАБОЧИМ ОБОРУДОВАНИЕМ

Схема запчастей Komatsu PC100U-2 - ГИДРАВЛ МАСЛОПРОВОДЯЩАЯ ЛИНИЯ¤ УПРАВЛЯЮЩ. КЛАПАН TO/FROM ЦИЛИНДР ПОВОРОТА СТРЕЛЫ(№-) УПРАВЛ-Е РАБОЧИМ ОБОРУДОВАНИЕМ
FIT
1:1
100%

Артикул

Название

Примечание

Количество

1

203-62-11410

NIPPLE

2

07002-12434

O-RING

3

202-62-48621

TUBE

4

202-62-48611

TUBE

|$4

21K-62-14530

ELBOW ASS'Y

5

21K-62-14540

ELBOW

6

202-62-12040

SLEEVE

7

07000-13028

O-RING

8

202-62-12050

RING

9

202-62-12030

NUT

10

202-62-48630

TUBE

11

202-62-48640

TUBE

12

07000-13030

O-RING

13

01010-50850

BOLT

14

01010-50835

BOLT

15

01602-20825

WASHER

16

706-73-72800

VALVE ASS'Y

17

702-15-39001

VALVE ASS'Y

18

07000-13025

O-RING

19

01011-51000

BOLT

20

01602-21030

WASHER

21

01010-51030

BOLT

22

01643-51032

WASHER

23

07230-10628

UNION

24

07002-12434

O-RING

25

202-62-48651

TUBE

26

202-62-48661

TUBE

27

07123-00606

HOSE

28

202-62-48671

BRACKET

29

15R-62-14620

CLAMP

30

01010-51245

BOLT

31

01643-31032

WASHER

32

202-62-48691

BRACKET

33

01010-51025

BOLT

34

01643-31032

WASHER

35

202-62-13170

CLAMP

36

01010-51230

BOLT

37

01643-31232

WASHER

38

202-62-48681

BRACKET

39

01010-51025

BOLT

40

01643-31032

WASHER

Выбрано товаров: 0