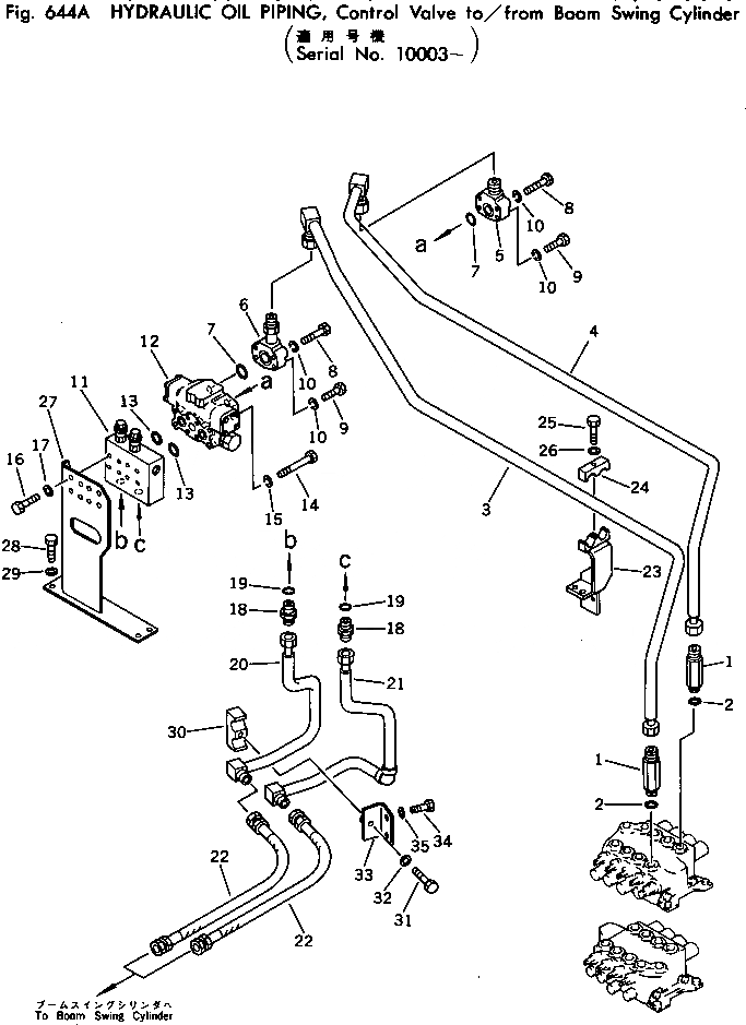
Запчасти Komatsu PC100U-2 ГИДРАВЛ МАСЛОПРОВОДЯЩАЯ ЛИНИЯ¤ УПРАВЛЯЮЩ. КЛАПАН TO/FROM ЦИЛИНДР ПОВОРОТА СТРЕЛЫ(№-) УПРАВЛ-Е РАБОЧИМ ОБОРУДОВАНИЕМ

Схема запчастей Komatsu PC100U-2 - ГИДРАВЛ МАСЛОПРОВОДЯЩАЯ ЛИНИЯ¤ УПРАВЛЯЮЩ. КЛАПАН TO/FROM ЦИЛИНДР ПОВОРОТА СТРЕЛЫ(№-) УПРАВЛ-Е РАБОЧИМ ОБОРУДОВАНИЕМ
FIT
1:1
100%

Артикул

Название

Примечание

Количество

1

203-62-11410

NIPPLE

2

07002-12434

O-RING

3

202-62-48622

TUBE

4

202-62-48612

TUBE

5

202-62-48920

TUBE

6

202-62-48930

TUBE

7

07000-13030

O-RING

8

01010-50850

BOLT

9

01010-50835

BOLT

10

01602-20825

WASHER

11

706-73-72800

VALVE ASS'Y

12

702-15-39001

VALVE ASS'Y

13

07000-13025

O-RING

14

01011-51000

BOLT

15

01602-21030

WASHER

16

01010-51030

BOLT

17

01643-51032

WASHER

18

07230-10628

UNION

19

07002-12434

O-RING

20

202-62-48651

TUBE

21

202-62-48661

TUBE

22

07123-00606

HOSE

23

202-62-48671

BRACKET

24

15R-62-14620

CLAMP

25

01010-51245

BOLT

26

01643-31032

WASHER

27

202-62-48691

BRACKET

28

01010-51025

BOLT

29

01643-31032

WASHER

30

202-62-13170

CLAMP

31

01010-51260

BOLT

32

01643-31232

WASHER

33

202-62-48681

BRACKET

34

01010-51025

BOLT

35

01643-31032

WASHER

Выбрано товаров: 35