Запчасти Komatsu PC100U-2 ГИДРАВЛ МАСЛОПРОВОДЯЩАЯ ЛИНИЯ¤ УПРАВЛЯЮЩ. КЛАПАН TO/FROM ПОВОРОТНОЕ СОЕДИНЕНИЕ (/)РУКОЯТЬ ЛИНИЯ УПРАВЛ-Е РАБОЧИМ ОБОРУДОВАНИЕМ

Схема запчастей Komatsu PC100U-2 - ГИДРАВЛ МАСЛОПРОВОДЯЩАЯ ЛИНИЯ¤ УПРАВЛЯЮЩ. КЛАПАН TO/FROM ПОВОРОТНОЕ СОЕДИНЕНИЕ (/)  РУКОЯТЬ ЛИНИЯ УПРАВЛ-Е РАБОЧИМ ОБОРУДОВАНИЕМ
FIT
1:1
100%

Артикул

Название

Примечание

Количество

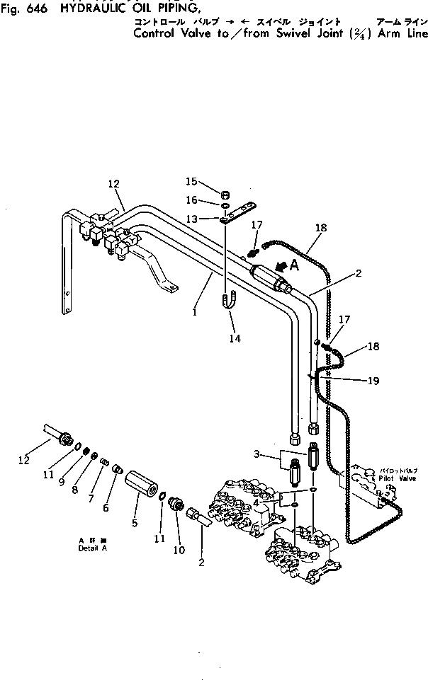
1

203-62-31381

TUBE

2

203-62-31950

TUBE

3

203-62-11410

NIPPLE

4

07002-12434

O-RING

|$4

202-60-31200

VALVE ASS'Y

5

203-60-21280

BODY

6

202-60-31111

POPPET

7

203-60-21310

SPRING

8

205-60-51320

SEAT

9

04065-02812

RING

10

202-62-14170

NIPPLE

11

07002-13334

O-RING

12

202-62-41110

TUBE

13

203-62-31870

PLATE

14

07283-22738

CLIP

15

01599-01011

NUT

16

01643-31032

WASHER

17

203-62-21740

NIPPLE

18

203-62-31781

HOSE

19

08034-00519

BAND

Выбрано товаров: 20