Запчасти Komatsu PC100U-2 АККУМУЛЯТОР КОМПОНЕНТЫ ДВИГАТЕЛЯ И ЭЛЕКТРИКА

Схема запчастей Komatsu PC100U-2 - АККУМУЛЯТОР КОМПОНЕНТЫ ДВИГАТЕЛЯ И ЭЛЕКТРИКА
FIT
1:1
100%

Артикул

Название

Примечание

Количество

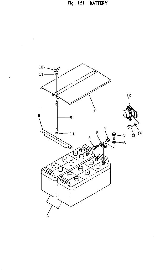
1

08000-02212

BATTERY (115F51),(N120)

2

08000-00000

TERMINAL, (+)

2

08000-00001

TERMINAL, (-)

3

01010-30830

BOLT

4

01580-00806

NUT

5

01050-31018

BOLT

6

01640-01016

WASHER

7

203-06-31212

COVER

8

203-06-31222

CLAMP

9

203-09-31120

BOLT

10

01541-21260

NUT

11

01643-31232

WASHER

12

08088-10000

SWITCH,BATTERY RELAY

13

01010-50816

BOLT

14

01602-20825

WASHER

Выбрано товаров: 15