Качественные детали и логистика
Оригинальные и аналоговые запчасти с доставкой по России, Казахстану и Беларуси
©2022 PartSell ООО "Система" ИНН 2463123282 ОГРН 1212400004838
Центральный офис: г. Красноярск, Академика Киренского, д.87, пом.4
Телефон: 8 (800) 777-65-74 Email: zakaz@partsell.ru
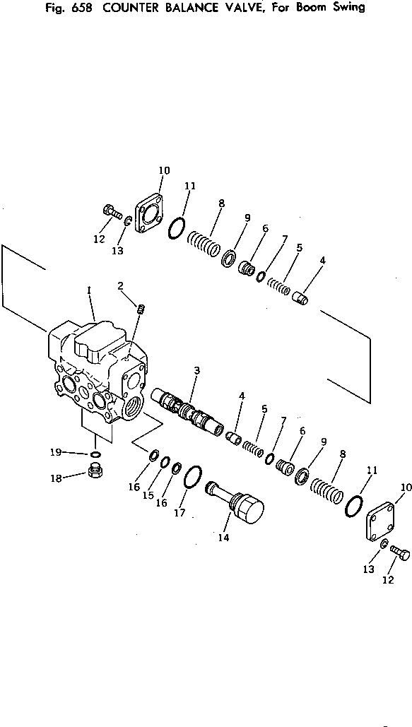
COUNTER BALANCE КЛАПАН¤ ДЛЯ СТРЕЛЫ ПОВОРОТН.
№
Артикул
Название
Примечание
Количество
|$0
706-73-72800
VALVE ASS'Y,COUNTER BALANCE
1
BODY
2
SCREW
3
SPOOL
4
706-73-70140
VALVE
5
706-73-70150
SPRING
6
706-73-70161
PLUG
7
07002-11623
O-RING
8
706-73-71182
9
706-73-71150
RING
10
706-73-71121
PLATE
11
07000-13032
12
01010-50825
BOLT
13
01602-20825
WASHER
14
706-73-71520
15
07000-12016
16
07001-02016
17
07002-13034
18
07040-11409
19
07002-11423
Выбрано товаров: 0