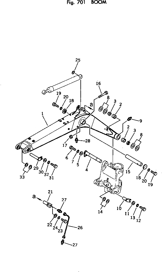
Запчасти Komatsu PC100U-2 СТРЕЛА РАБОЧЕЕ ОБОРУДОВАНИЕ

Схема запчастей Komatsu PC100U-2 - СТРЕЛА РАБОЧЕЕ ОБОРУДОВАНИЕ
FIT
1:1
100%

Артикул

Название

Примечание

Количество

|$0

202-70-00140

BOOM ASS'Y

1

BOOM

2

202-70-48160

BUSHING

3

07145-00075

SEAL

4

202-70-48130

PIN

5

203-70-31230

PLATE

6

01010-31430

BOLT

7

01643-31445

WASHER

8

202-70-48140

SPACER, 1.0MM

8

202-70-48150

SPACER, 0.5MM

9

07020-00000

FITTING

10

203-70-31220

PIN

11

203-70-31230

PLATE

12

01010-31430

BOLT

13

01643-31445

WASHER

14

203-70-24150

SPACER, 1.0MM

14

203-70-24160

SPACER, 2.0MM

15

203-70-31180

SHAFT

16

202-70-11441

BOLT

17

01599-01617

NUT

18

202-70-11211

HOLDER

19

01010-31435

BOLT

20

01643-31445

WASHER

21

202-70-48180

PIN

22

203-70-31230

PLATE

23

01010-31430

BOLT

24

01643-31445

WASHER

25

203-70-24170

SPACER, 1.0MM

26

202-70-11410

TUBE

27

07214-60610

CONNECTOR

28

07020-00000

FITTING

29

202-70-41140

PIN

30

203-70-31230

PLATE

31

01010-31430

BOLT

32

01643-31445

WASHER

33

203-70-34260

SPACER, 0.5MM

33

202-70-11640

SPACER, 1.0MM

Выбрано товаров: 37