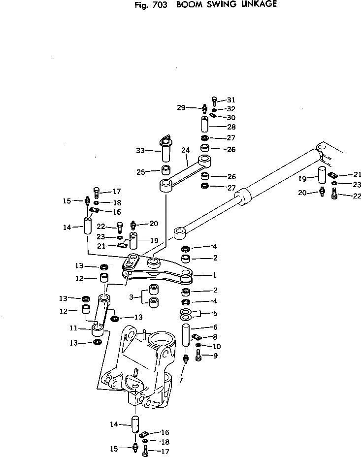
Запчасти Komatsu PC100U-2 ПОВОРОТ СТРЕЛЫ МЕХАНИЗМ РАБОЧЕЕ ОБОРУДОВАНИЕ

Схема запчастей Komatsu PC100U-2 - ПОВОРОТ СТРЕЛЫ МЕХАНИЗМ РАБОЧЕЕ ОБОРУДОВАНИЕ
FIT
1:1
100%

Артикул

Название

Примечание

Количество

|$0

202-70-00110

LINK ASS'Y

1

LINK

2

07143-10604

BUSHING

3

07143-10706

BUSHING

4

07145-00065

SEAL

5

202-70-48470

SPACER, 0.5MM

5

202-70-48460

SPACER, 1.0MM

6

09241-65250

PIN

7

07020-00000

FITTING

8

04082-00514

LOCK

9

01010-51435

BOLT

10

01643-31445

WASHER

|$12

202-70-00120

LINK ASS'Y

11

LINK

12

07143-10607

BUSHING

13

07145-00065

SEAL

14

09241-65175

SHAFT

15

07020-00000

FITTING

16

04082-00514

LOCK

17

01010-51435

BOLT

18

01643-31445

WASHER

19

202-70-48510

PIN

20

07020-00000

FITTING

21

04082-00514

LOCK

22

01010-51435

BOLT

23

01643-31445

WASHER

|$26

202-70-00130

LINK ASS'Y

24

LINK

25

07143-10706

BUSHING

26

07143-10603

BUSHING

27

07145-00060

SEAL

28

09241-60165

PIN

29

07020-00000

FITTING

30

04082-00212

LOCK

31

01010-51225

BOLT

32

01643-31232

WASHER

33

201-70-28520

PIN

Выбрано товаров: 37