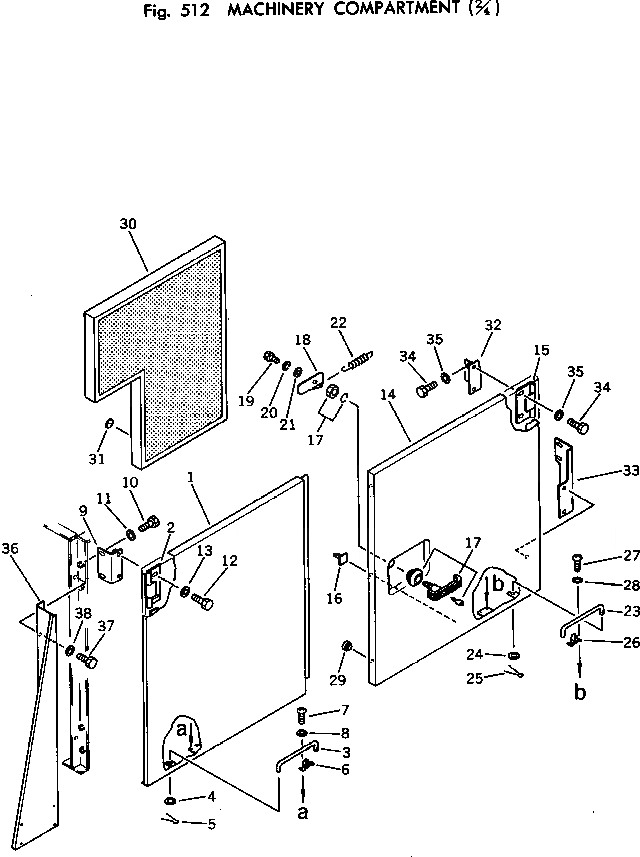
Запчасти Komatsu PC100U-2 MACHINERY ОБСТАНОВКА (/) ОСНОВНАЯ РАМА И КАБИНА

Схема запчастей Komatsu PC100U-2 - MACHINERY ОБСТАНОВКА (/) ОСНОВНАЯ РАМА И КАБИНА
FIT
1:1
100%

Артикул

Название

Примечание

Количество

|1

202-54-00500

COVER ASS'Y

1

COVER

2

203-54-32230

HINGE (WELDED)

3

203-54-32250

BAR

4

01641-01016

WASHER

5

04050-03018

PIN

6

20B-54-12210

SPRING

7

01220-30408

SCREW

8

01641-00405

WASHER

9

203-54-32330

BRACKET

10

01010-31025

BOLT

11

01643-31032

WASHER

12

01010-31025

BOLT

13

01643-31032

WASHER

|14

203-54-00051

COVER ASS'Y

14

COVER

15

203-54-32230

HINGE (WELDED)

16

04431-10000

CLIP

17

21T-54-12310

HANDLE

18

21T-54-12320

PLATE

19

01010-30820

BOLT

20

01602-00825

WASHER

21

01643-30823

WASHER

22

135-43-14520

SPRING

23

203-54-32250

BAR

24

01641-01016

WASHER

25

04050-03018

PIN

26

20B-54-12210

SPRING

27

01220-30408

SCREW

28

01641-00405

WASHER

29

203-54-32260

STOPPER

30

203-54-32891

WOOL,GLASS

31

04431-30000

PLATE

32

203-54-32241

BRACKET

33

203-54-32360

BRACKET

34

01010-31025

BOLT

35

01643-31032

WASHER

36

202-54-48230

COVER

37

01010-51020

BOLT

38

01643-31032

WASHER

Выбрано товаров: 40