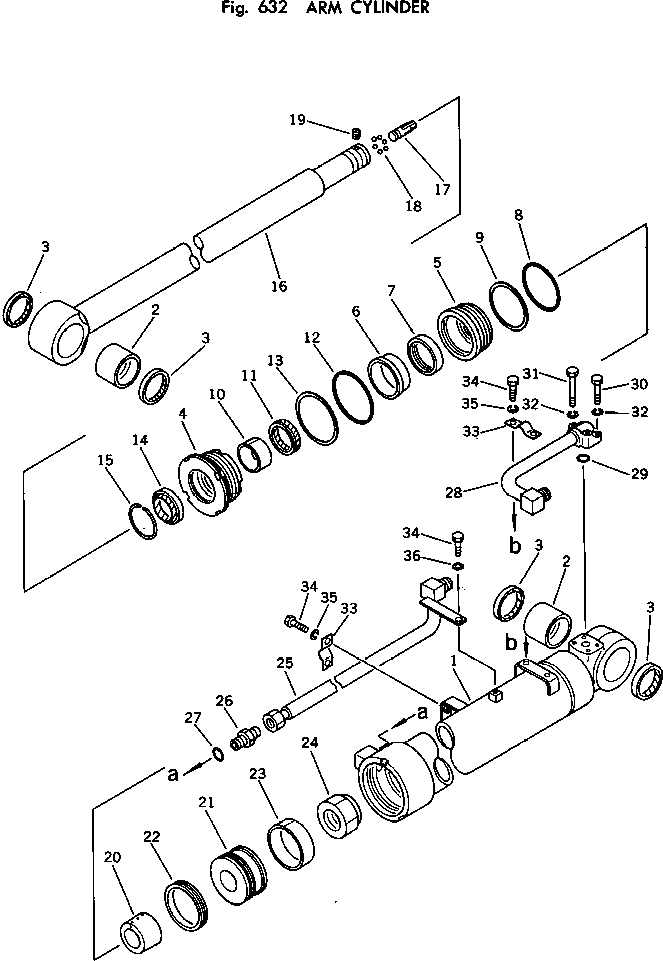
Запчасти Komatsu PC100U-2 ЦИЛИНДР РУКОЯТИ УПРАВЛ-Е РАБОЧИМ ОБОРУДОВАНИЕМ

Схема запчастей Komatsu PC100U-2 - ЦИЛИНДР РУКОЯТИ УПРАВЛ-Е РАБОЧИМ ОБОРУДОВАНИЕМ
FIT
1:1
100%

Артикул

Название

Примечание

Количество

|1

202-63-63101

CYLINDER ASS'Y

1

202-63-63141

CYLINDER

2

202-63-36441

BUSHING

3

07145-00070

SEAL

4

707-29-12470

HEAD

|5

707-71-91020

RING ASS'Y

5

COLLAR

6

COLLAR

7

RING

8

07000-12115

O-RING

9

07146-02116

RING

10

07177-07030

BUSHING

11

707-51-70211

PACKING

12

07000-12125

O-RING

13

11-63-81230

RING

14

144-63-95170

SEAL

15

07179-00093

RING

16

202-63-63120

ROD

17

707-71-50230

PLUNGER

18

04260-00635

BALL

19

20X-63-66490

SCREW

20

707-71-50830

PLUNGER

21

707-36-12270

PISTON

22

707-44-12080

RING

23

07155-01230

RING

24

07165-15252

NUT

25

202-63-63170

TUBE

26

07230-10628

UNION

27

07002-12434

O-RING

28

202-63-63180

TUBE

29

07000-18030

O-RING

30

01010-50835

BOLT

31

01010-50850

BOLT

32

01602-20825

WASHER

33

07282-02793

CLAMP

34

01010-51025

BOLT

35

01602-21030

WASHER

36

01643-31032

WASHER

Выбрано товаров: 38