Запчасти Komatsu PC100U-3 СЕРВОКЛАПАН¤ ПЕРЕДН. (/) УПРАВЛ-Е РАБОЧИМ ОБОРУДОВАНИЕМ

Схема запчастей Komatsu PC100U-3 - СЕРВОКЛАПАН¤ ПЕРЕДН. (/) УПРАВЛ-Е РАБОЧИМ ОБОРУДОВАНИЕМ
FIT
1:1
100%

Артикул

Название

Примечание

Количество

|1

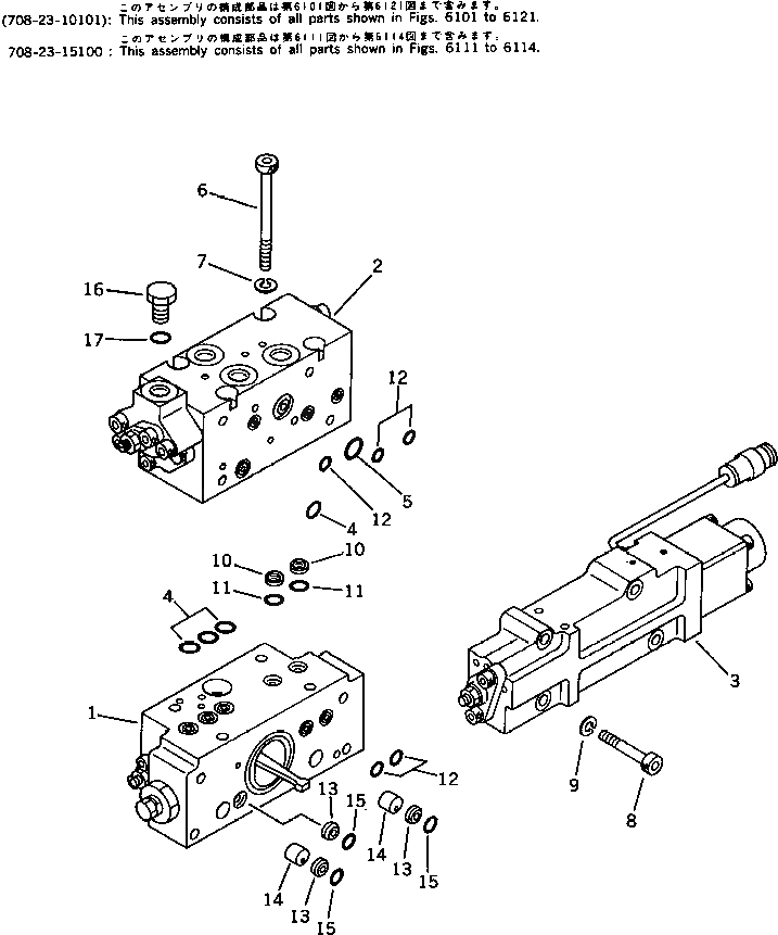
708-23-10101

PUMP ASS'Y (HPV55+55)

|1

708-23-15100

SERVO VALVE ASS'Y,FRONT

1

708-23-15200

SERVO VALVE SUB A.,FRONT

2

708-23-17100

VALVE ASS'Y

3

708-23-18100

VALVE ASS'Y,T.V.C.

4

07000-02011

O-RING

5

07000-02018

O-RING

6

708-25-19160

BOLT

7

01602-20825

WASHER,SPRING

8

01252-30850

BOLT

9

01602-20825

WASHER,SPRING

10

720-68-11920

FILTER

11

07000-12010

O-RING

12

07000-11009

O-RING

13

720-68-11920

FILTER

14

708-23-19130

ORIFICE

15

07000-12010

O-RING

16

07040-11409

PLUG

17

07002-01423

O-RING

Выбрано товаров: 19