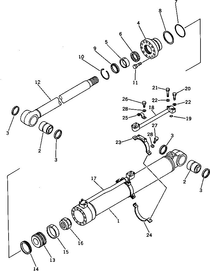
Запчасти Komatsu PC100U-3 ЦИЛИНДР ПОВОРОТА СТРЕЛЫ УПРАВЛ-Е РАБОЧИМ ОБОРУДОВАНИЕМ

Схема запчастей Komatsu PC100U-3 - ЦИЛИНДР ПОВОРОТА СТРЕЛЫ УПРАВЛ-Е РАБОЧИМ ОБОРУДОВАНИЕМ
FIT
1:1
100%

Артикул

Название

Примечание

Количество

|1

203-63-13501

SWING CYLINDER ASS'Y

1

203-63-13540

CYLINDER

2

707-76-70110

BUSHING

3

07145-00070

SEAL,DUST

4

707-27-12370

HEAD,CYLINDER

5

07177-07530

BUSHING

6

707-51-75211

PACKING,ROD

7

07000-12115

O-RING

8

07146-02116

RING,BACK-UP

9

144-63-94170

SEAL,DUST

10

07179-00097

RING,SNAP

11

01010-81655

BOLT

12

202-63-13520

ROD,PISTON

13

707-36-12360

PISTON

14

707-44-12080

RING,PISTON

15

07155-01230

RING,WEAR

16

707-68-10580

NUT

17

202-63-13570

TUBE

18

202-63-13580

TUBE

19

07000-13030

O-RING

20

01010-50845

BOLT

21

01010-50855

BOLT

22

01602-20825

WASHER,SPRING

23

707-88-99260

BAND

24

707-88-99250

BAND

25

07282-02793

CLAMP

26

01010-51020

BOLT

27

01010-51035

BOLT

28

01602-21030

WASHER,SPRING

Выбрано товаров: 29