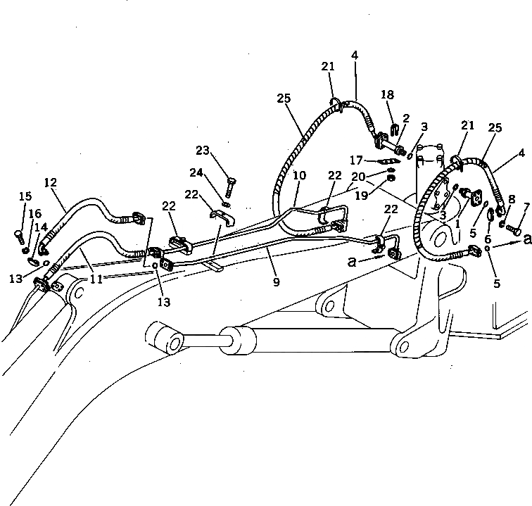
Запчасти Komatsu PC100U-3 ГИДРОЛИНИЯ (РАБОЧЕЕ ОБОРУДОВАНИЕ ПОВОРОТНОЕ СОЕДИНЕНИЕ - ЦИЛИНДР РУКОЯТИ)(№-) УПРАВЛ-Е РАБОЧИМ ОБОРУДОВАНИЕМ

Схема запчастей Komatsu PC100U-3 - ГИДРОЛИНИЯ (РАБОЧЕЕ ОБОРУДОВАНИЕ ПОВОРОТНОЕ СОЕДИНЕНИЕ - ЦИЛИНДР РУКОЯТИ)(№-) УПРАВЛ-Е РАБОЧИМ ОБОРУДОВАНИЕМ
FIT
1:1
100%

Артикул

Название

Примечание

Количество

1

202-62-58512

FLANGE

2

202-62-58522

FLANGE

3

07002-12434

O-RING

4

07098-00517

HOSE

5

07000-13022

O-RING

6

07371-30500

FLANGE,SPLIT

7

01010-50830

BOLT

8

01602-20825

WASHER,SPRING

9

202-62-58753

TUBE,L.H.

10

202-62-58763

TUBE,R.H.

11

07098-00509

HOSE

12

07099-00509

HOSE

13

07000-13022

O-RING

14

07371-30500

FLANGE,SPLIT

15

01010-50830

BOLT

16

01602-20825

WASHER,SPRING

17

202-62-58711

PLATE

18

07283-22236

CLIP

19

01599-01011

NUT

20

01643-31032

WASHER

21

08034-00834

BAND

22

22X-62-23160

CLAMP

23

01010-51025

BOLT

24

01643-31032

WASHER

25

203-62-32450

COVER

Выбрано товаров: 0